Yamaha YFM350FWBJ_MNH (BIG BEAR 4WD) 4WU1 1997 CARBURETOR Diagram
#
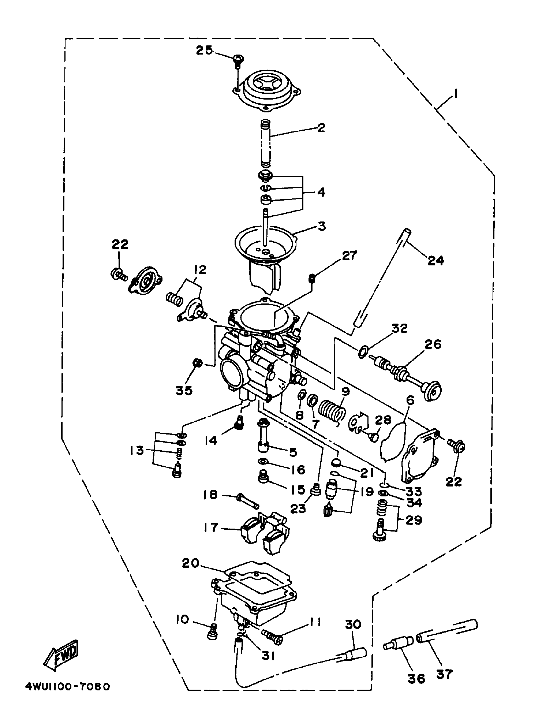
1
CARBURETOR ASSEMBLY 1
4WU-14901-00-00
Unavailable
4
. NEEDLE SET
4WU-1490J-00-00
Unavailable
5
. NOZZLE, MAIN
4KB-1414N-40-00
Unavailable
7
. COLLAR
4KB-14264-00-00
Unavailable
8
SEAL
2A2-14997-00-00
Unavailable
9
SPRING
4KB-14275-00-00
Unavailable
12
DIAPHRAGM SET, 5
3LD-1490H-00-00
Unavailable
16
WASHER,MAIN JET
137-14153-00-00
Unavailable
17
FLOAT
2VA-14185-00-00
Unavailable
18
PIN, FLOAT
537-14186-00-00
Unavailable
19
NEEDLE VALVE SET
1UY-14107-20-00
Unavailable
20
O-RING
2LN-14147-00-00
Unavailable
21
NET, FILTER
1J7-14994-00-00
Unavailable
23
SCREW
2LN-14565-00-00
Unavailable
24
. PIPE
4KB-14197-00-00
Unavailable
25
SCREW, PAN HEAD(JG1)
98507-04008-00
Unavailable
26
PLUNGER, STARTER
4KB-14993-00-00
Unavailable
27
PILOT JET, AIR (1.6)
2A2-14172-16-00
Unavailable
28
GUIDE, CABLE
1UY-14155-00-00
Unavailable
29
. THROTTLE SCREW SET
4KB-14103-00-00
Unavailable
30
PIPE
4KB-14193-20-00
Unavailable
31
CLIP
14X-14937-00-00
Unavailable
32
. WASHER
4KB-14285-00-00
Unavailable
33
O-RING, PILOT SCREW
2H0-14147-00-00
Unavailable
34
WASHER
22U-14952-00-00
Unavailable
35
NUT, CABLE ADJUSTING
522-14161-00-00
Unavailable
36
PIPE 2,OVERFLOW
24W-14193-00-00
Unavailable
37
TUBE, FLEXIBLE(3NV)
91A21-07020-00
Unavailable
