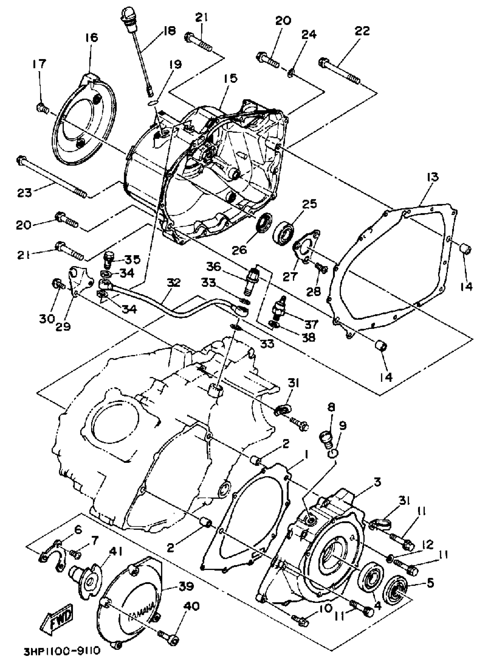
Yamaha YFM350ERW (MOTO-4) 1989 CRANKCASE COVER Diagram
#
3
ADAPTOR
1UY-15787-02-00
Unavailable
4
BEARING (1YW)
93306-07802-00
Unavailable
12
GASKET 256113960000
90430-06014-00
Unavailable
15
COVER, CRANKCASE 3
1YW-15431-02-00
Unavailable
16
PROTECTOR, COVER
1YW-15499-01-00
Unavailable
17
SCREW, BINDING
98907-06014-00
Unavailable
18
PLUG, OIL LEVEL
1YW-15362-00-00
Unavailable
19
O-RING (5Y1)
93210-19522-00
Unavailable
20
BOLT, FLANGE(4AS)
95024-06030-00
Unavailable
21
BOLT, FLANGE(4KM)
95024-06040-00
Unavailable
22
BOLT, SMALL FLANGE
95027-06070-00
Unavailable
23
BOLT, FLANGE
95027-06135-00
Unavailable
24
GASKET 256113960000
90430-06014-00
Unavailable
25
BEARING(37F)
93306-20335-00
Unavailable
26
OIL SEAL (21V)
93101-17113-00
Unavailable
27
PLATE, BRNG. COVER
2VA-15381-00-00
Unavailable
28
SCREW, COUNTERSUNK (21V)
90151-06025-00
Unavailable
29
HOLDER
1YW-15378-01-00
Unavailable
30
BOLT, FLANGE(2UJ)
95024-06016-00
Unavailable
31
CLAMP(51Y)
90465-08277-00
Unavailable
32
PIPE, DELIVERY 2
1YW-13171-01-00
Unavailable
33
GASKET 256131670000
90430-14043-00
Unavailable
34
WASHER, PLATE 3411117500
90201-08087-00
Unavailable
35
BOLT, UNION
90401-08004-00
Unavailable
36
BOLT, UNION
90401-14121-00
Unavailable
37
THERMO SWITCH ASSY
2HT-82560-10-00
Unavailable
38
WASHER, PLATE 3412175700
90201-12172-00
Unavailable
39
COVER, CRANKCASE 1
2NL-15411-01-00
Unavailable
40
BOLT,SOCKET
91317-06025-00
Unavailable
41
BOSS, STARTER PULLEY
3GD-15777-10-00
Unavailable
