Partiron

Yamaha YFM350ERU (MOTO-4) 1988 METER Diagram

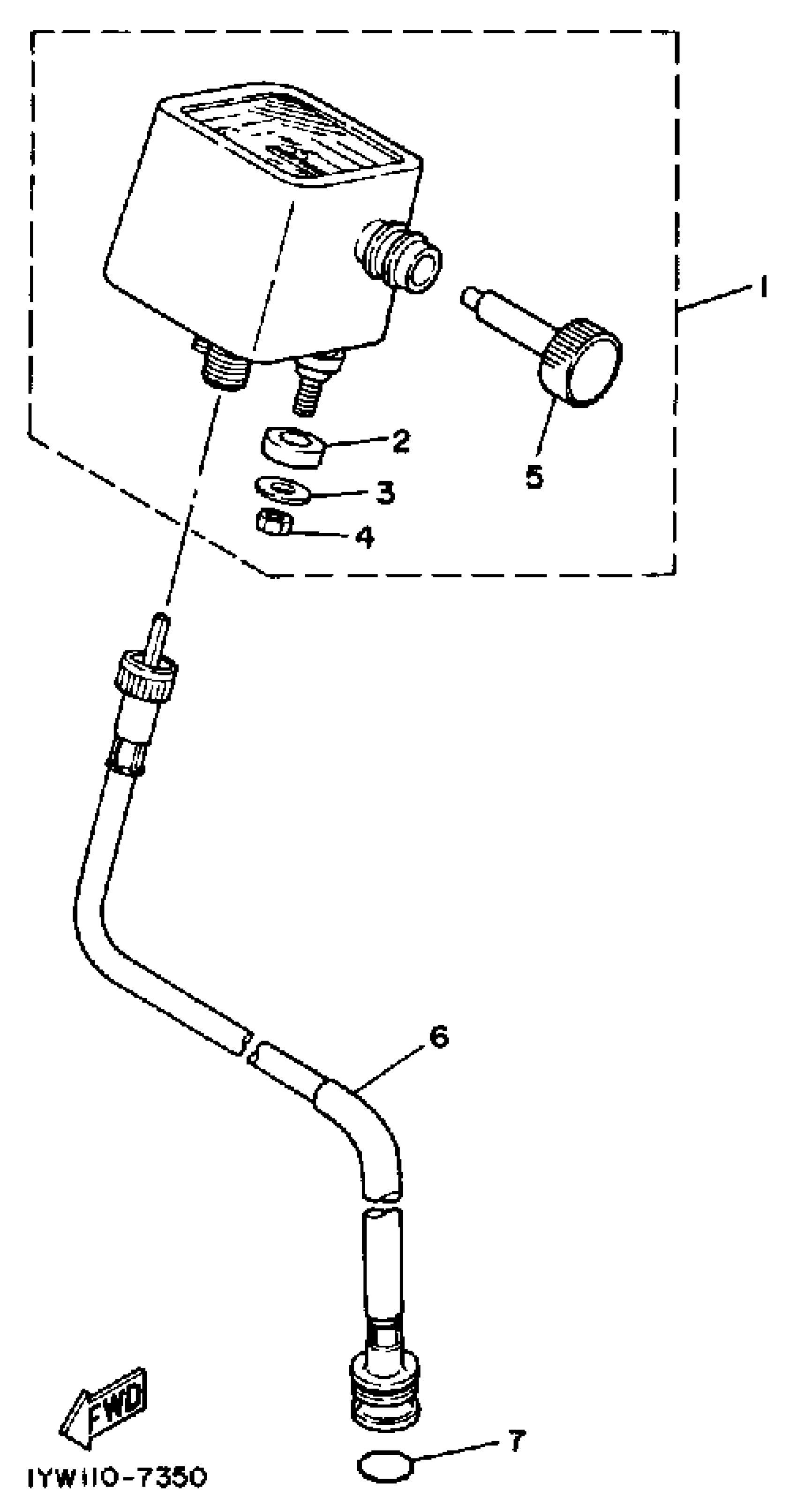
#

Description
Price

1

SPEEDOMETER ASSEMBLY

1YW-83570-A0-00

Unavailable

2

DAMPER

4X7-83523-00-00

$11.99

3

WASHER, PLATE (8J0)

90201-05725-00

Unavailable

4

NUT, HEXAGON (663)

95380-05600-00

$8.49

5

. KNOB, TRIP METER

59V-83578-00-00

Unavailable

6

SPEEDOMETER CABLE ASSEMBLY

1YW-83550-00-00

Unavailable

7

O-RING (26H)

93210-14579-00

$7.49