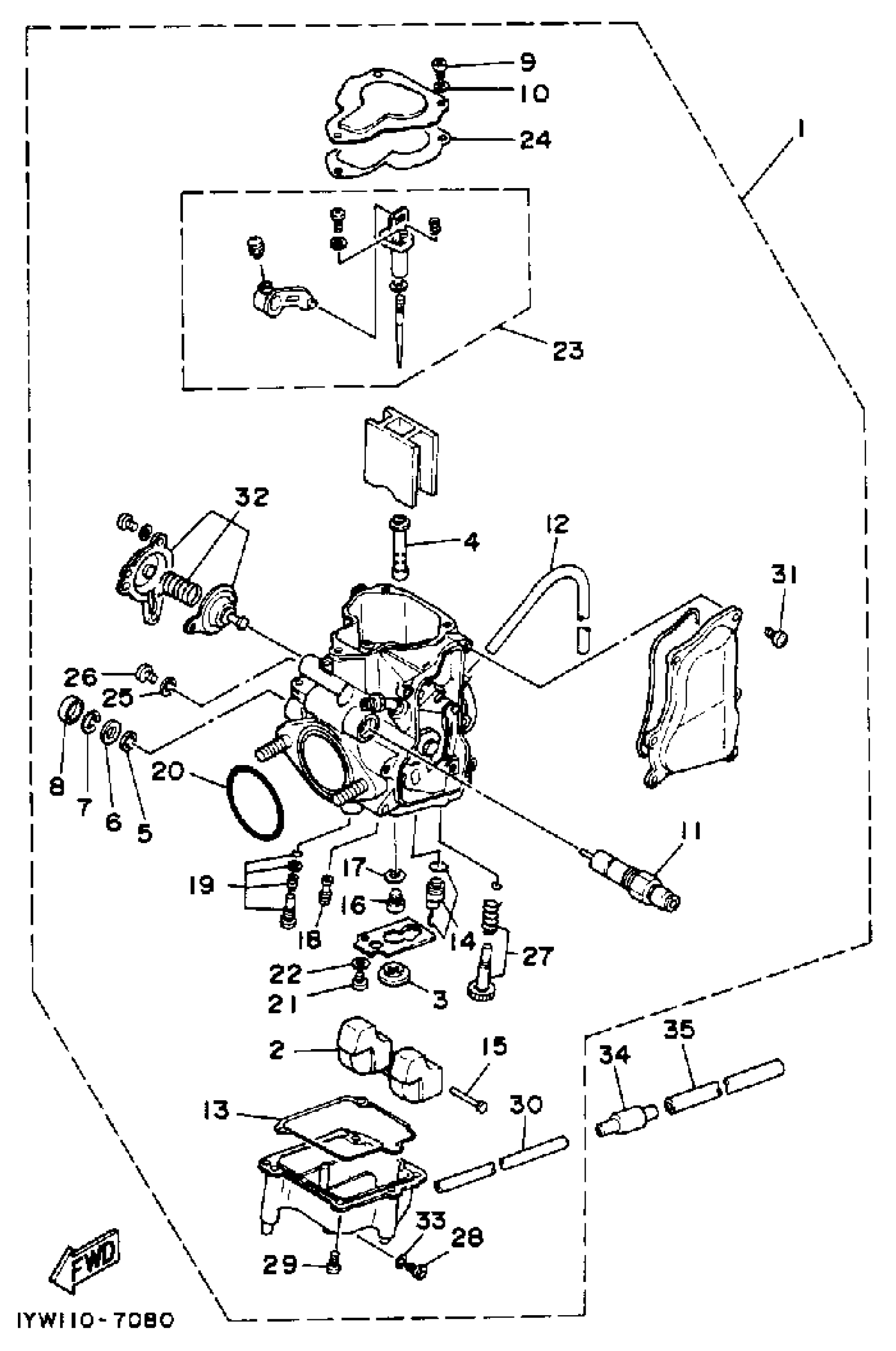
Yamaha YFM350ERT (MOTO-4) 1987 CARBURETOR Diagram
#
Description
Price
1
CARBURETOR ASSEMBLY 1
1YW-14101-00-00
Unavailable
4
NOZZLE, MAIN
1YW-14141-28-00
Unavailable
5
SEAL
2A2-14997-00-00
Unavailable
6
GASKET
22F-14126-00-00
Unavailable
8
CAP
36X-14169-00-00
Unavailable
11
. STARTER SET
1YW-1410A-00-00
Unavailable
12
PIPE
(1YW-14197-00-00)
Unavailable
16
JET, MAIN (#120)
620-14231-24-A0
Unavailable
17
WASHER,MAIN JET
137-14153-00-00
Unavailable
18
JET, PILOT (# 45)
4G0-14142-45-00
Unavailable
19
PILOT SCREW SET
21V-14105-00-00
Unavailable
20
O-RING
1YW-14147-00-00
Unavailable
21
SCREW, PAN HEAD (J10)
98580-03008-00
Unavailable
22
WASHER, SPRING
92990-03100-00
Unavailable
23
NEEDLE SET
1YW-1490J-01-00
Unavailable
24
GASKET
1UY-14198-00-00
Unavailable
25
. WASHER
59V-14962-00-00
Unavailable
26
SCREW, PAN HEAD(6A3)
97885-06008-00
Unavailable
27
. THROTTLE SCREW SET
1UY-14103-00-00
Unavailable
28
SCREW
2L1-14191-00-00
Unavailable
29
SCREW, PAN HEAD
98511-04012-00
Unavailable
30
HOSE (L1500)
90445-084J0-00
Unavailable
31
SCREW, PAN HEAD
98517-04012-00
Unavailable
32
DIAPHRAGM SET, 5
3LD-1490H-00-00
Unavailable
33
O-RING
214-14147-00-00
Unavailable
34
PIPE 2,OVERFLOW
24W-14193-00-00
Unavailable
35
TUBE, FLEXIBLE(3NV)
91A21-07020-00
Unavailable
