Yamaha YFM350ERG (MOTO-4) 1995 DRIVE SHAFT Diagram
#
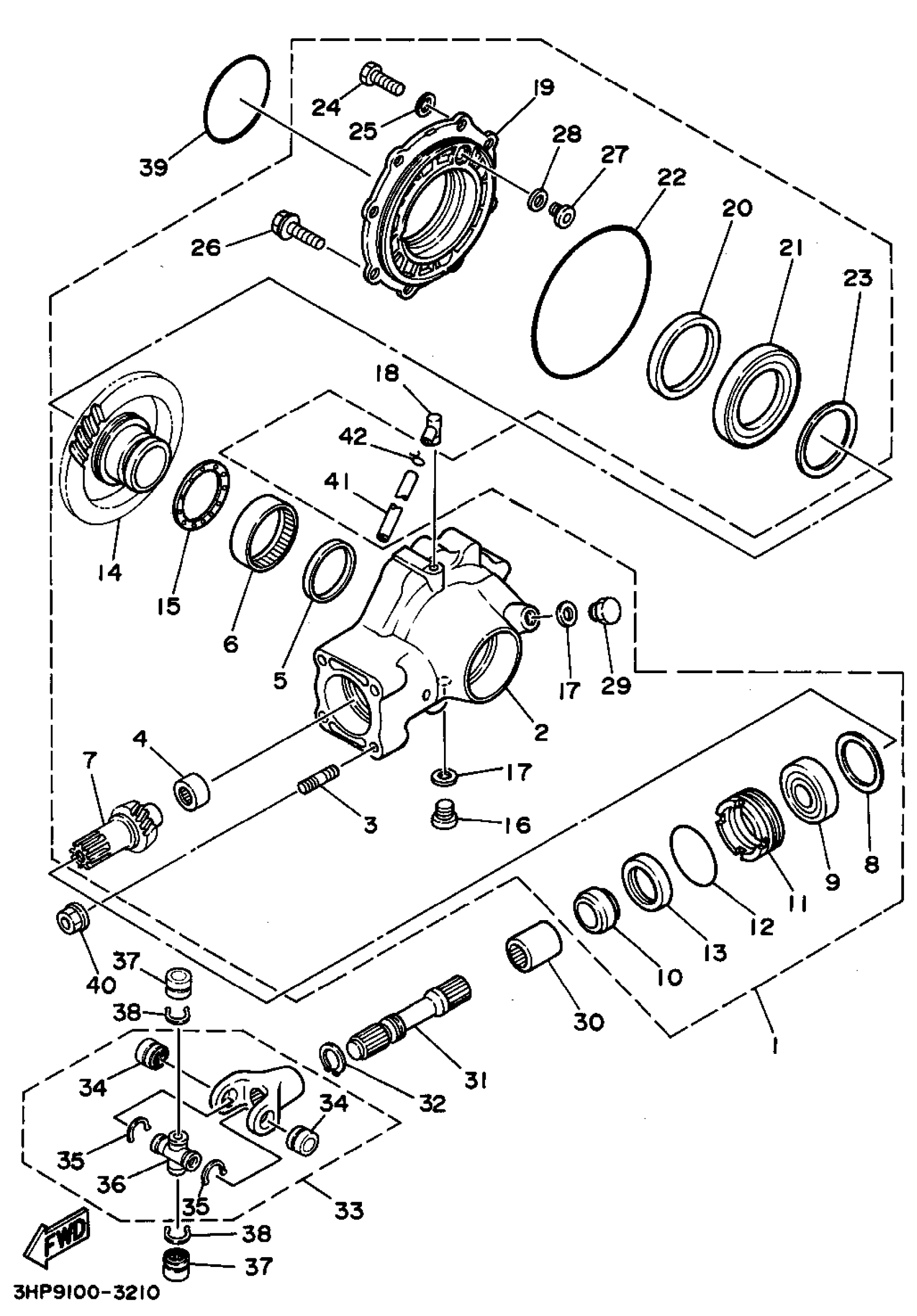
1
REAR AXLE GEAR CASE ASSY
3HN-46101-12-00
Unavailable
2
HOUSING, DRIVE SHAFT
3HN-46151-01-00
Unavailable
3
BOLT, STUD (5E5)
90116-10361-00
Unavailable
9
BEARING(4KB)
93306-30568-00
Unavailable
10
COLLAR (24W)
90387-255H9-00
Unavailable
14
. RING GEAR COMP
1YW-46110-00-00
Unavailable
15
WASHER, THRUST
24W-46118-00-12
Unavailable
16
PLUG, STRAIGHT SCREW
90340-14002-00
Unavailable
17
GASKET
214-11198-01-00
Unavailable
18
BREATHER
5UG-15371-00-00
Unavailable
19
HOUSING, BEARING
3HN-46152-01-00
Unavailable
20
OIL SEAL (22U)
93102-65277-00
Unavailable
21
BEARING, CYLINDRICAL (22U)
93316-01301-00
Unavailable
22
O-RING(59V)
93211-54698-00
Unavailable
23
. SHIM, RING GEAR (025T)
24W-46117-00-25
Unavailable
24
BOLT (682)
97013-08025-00
Unavailable
25
.. WASHER, PLATE
92990-08600-00
Unavailable
26
BOLT, FLANGE(4GB)
95817-10045-00
Unavailable
27
STOPPER, RING GEAR
1FK-46156-00-00
Unavailable
28
SHIM, STOPPER
1FK-46157-00-15
Unavailable
29
PLUG, STRAIGHT(2E9)
90340-14029-00
Unavailable
30
COUPLING, GEAR
2HR-46123-00-00
Unavailable
31
SHAFT, DRIVE
1YW-46172-00-00
Unavailable
32
CIRCLIP (537)
93410-22039-00
Unavailable
33
CROSS JOINT COMP.
1YW-46180-02-00
Unavailable
34
BEARING
93399-99952-00
Unavailable
35
. CIRCLIP
93430-23165-00
Unavailable
36
. SPIDER
1YW-46187-00-00
Unavailable
37
BEARING
93399-99952-00
Unavailable
38
CIRCLIP(3JN)
93440-23165-00
Unavailable
39
O-RING(59V)
93210-85706-00
Unavailable
40
NUT, FLANGE(8AB)
95707-10500-00
Unavailable
41
HOSE (L1700)
90445-070G6-00
Unavailable
42
CLIP (1J7)
90467-07029-00
Unavailable
