Partiron

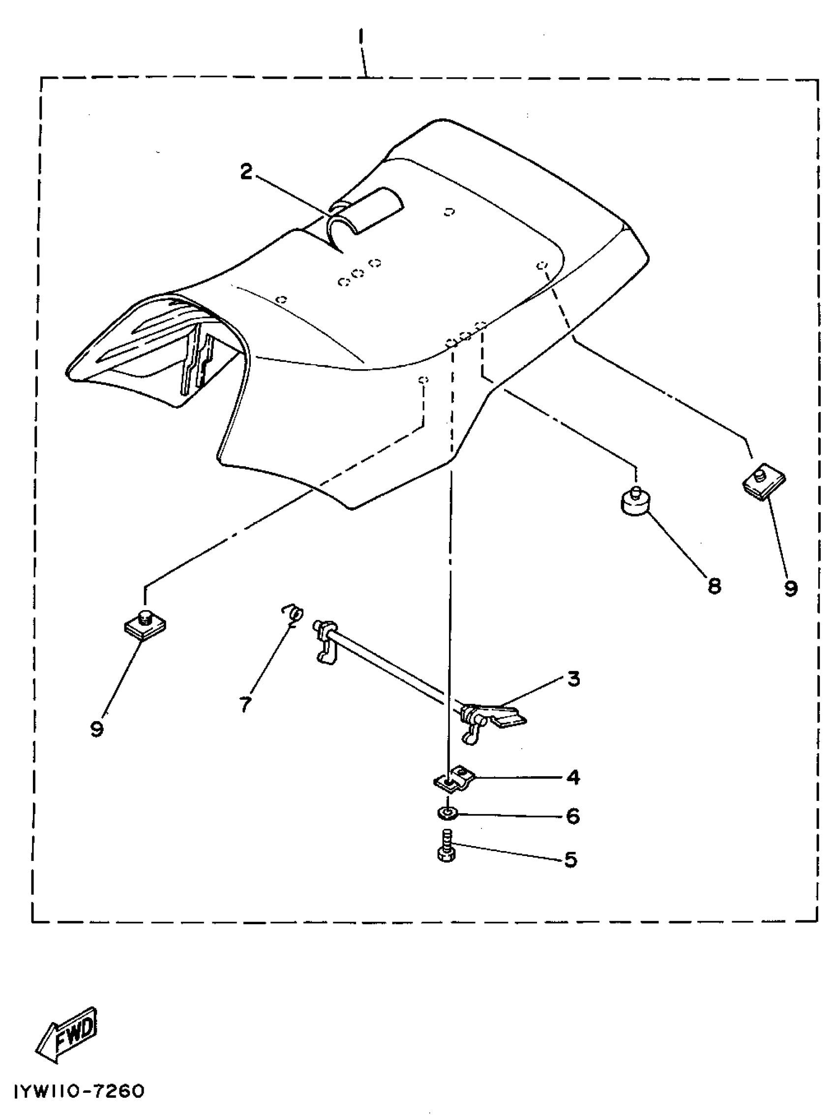
Yamaha YFM350ERF (MOTO-4) 1994 SEAT Diagram

#

Description
Price

1

SINGLE SEAT ASSEMBLY

3GH-24710-40-00

Unavailable

2

. COVER, SINGLE SEAT

3GH-24711-40-00

Unavailable

3

LEVER, SEAT

59V-24776-01-00

Unavailable

4

. BRACKET, SEAT LEVER

59V-24775-00-00

Unavailable

5

BOLT (661)

97013-06012-00

$5.60

6

WASHER, SPRING

92995-06100-00

Unavailable

7

SPRING, TORSION (21V)

90508-23567-00

$8.49

8

STOPPER, MAIN STAND

371-27114-00-00

$7.99

9

DAMPER, SEAT

509-24724-00-00

$10.99