Partiron

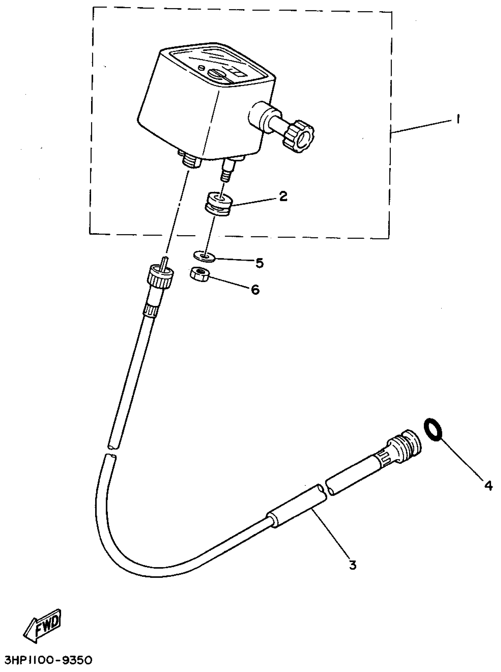
Yamaha YFM350ERF (MOTO-4) 1994 METER Diagram

#

Description
Price

1

. SPEEDOMETER ASSY

4KB-83500-00-00

Unavailable

2

DAMPER

3GH-83523-00-00

$6.99

3

SPEEDOMETER CABLE ASSEMBLY

1YW-83550-00-00

Unavailable

4

O-RING (26H)

93210-14579-00

$7.49

5

WASHER, PLATE (8J0)

90201-05725-00

Unavailable

6

NUT, HEXAGON (663)

95380-05600-00

$8.49