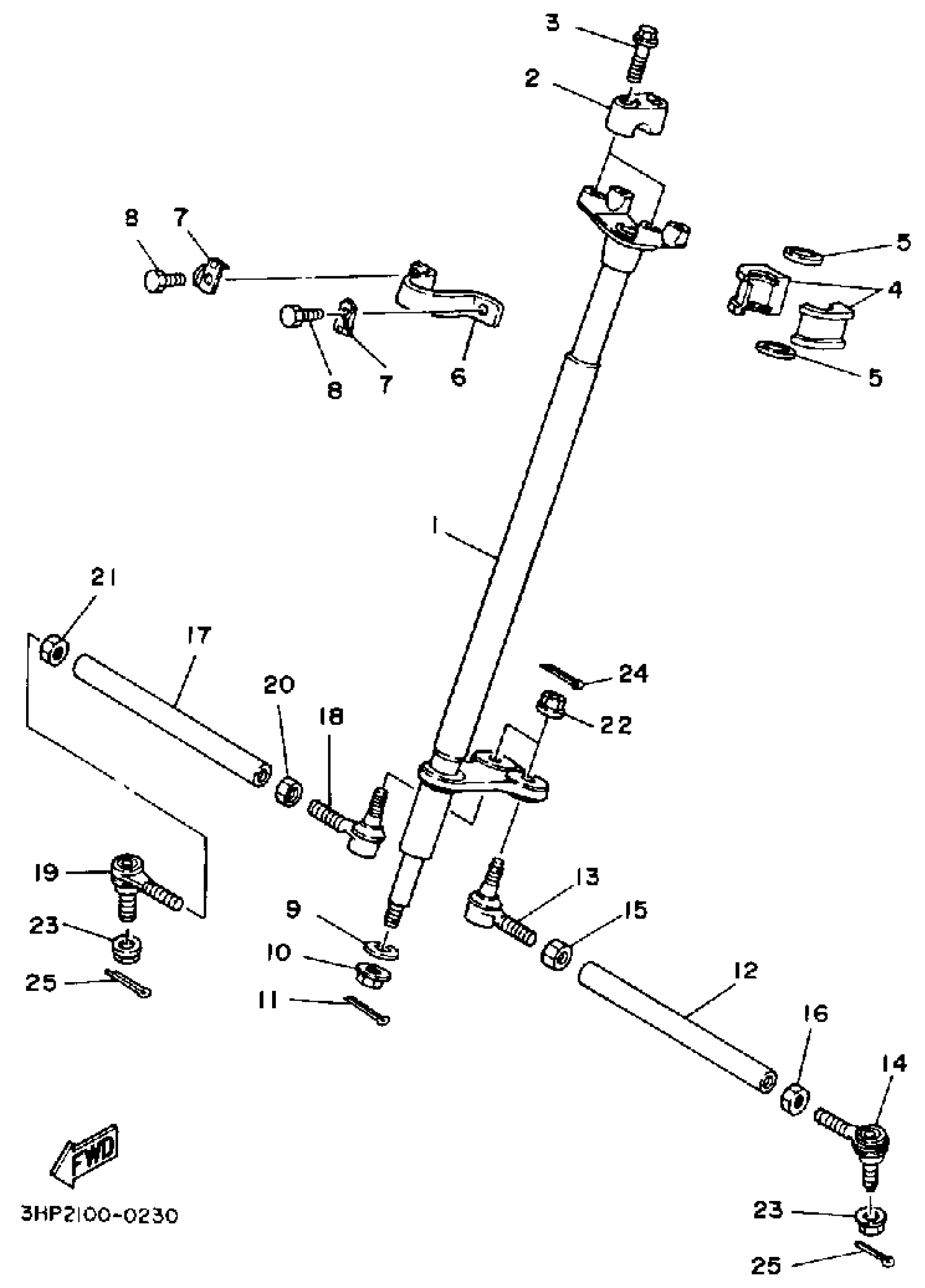
Yamaha YFM350ERD (MOTO-4) 3HP7 1992 STEERING Diagram
#
Description
Price
1
COLUMN, STEERING 2
59V-23813-00-00
Unavailable
4
PLANE BEARING, STEERING
52H-23812-00-00
Unavailable
5
OIL SEAL
93112-28007-00
Unavailable
6
BRACKET, STEERING LOWER
59V-23868-00-00
Unavailable
10
NUT, SELF-LOCKING (8U7)
90185-10115-00
Unavailable
12
ROD, TIE
3GH-23831-00-00
Unavailable
13
JOINT, UNIVERSAL 1
59V-23841-01-00
Unavailable
15
NUT (682)
95380-10700-00
Unavailable
16
NUT, HEXAGON (8A5)
90170-10186-00
Unavailable
17
ROD, TIE
3GH-23831-00-00
Unavailable
18
JOINT, UNIVERSAL 1
59V-23841-01-00
Unavailable
20
NUT (682)
95380-10700-00
Unavailable
21
NUT, HEXAGON (8A5)
90170-10186-00
Unavailable
22
NUT 3532518200
90171-10004-00
Unavailable
23
NUT 3532518200
90171-10004-00
Unavailable
