Yamaha YFM350ERD (MOTO-4) 3HP7 1992 FUEL TANK Diagram
#
Description
Price
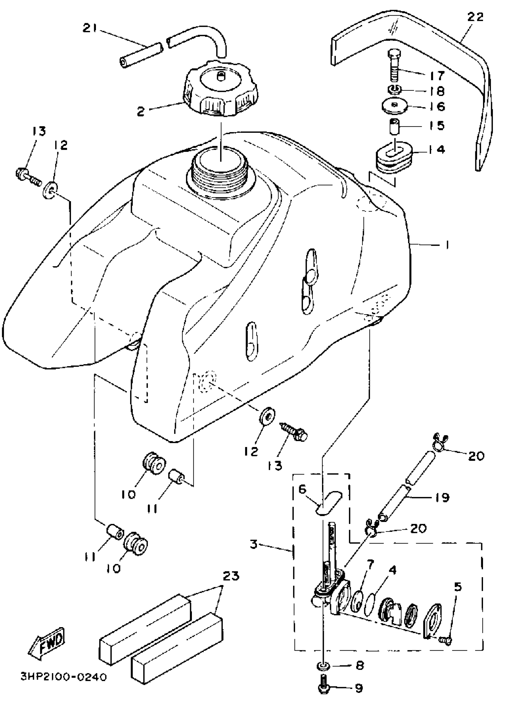
1
FUEL TANK COMP.
3GH-24110-00-00
Unavailable
16
WASHER, PLATE
90201-06090-00
Unavailable
17
BOLT, HEXAGON
97017-06030-00
Unavailable
18
WASHER, SPRING
92995-06100-00
Unavailable
19
HOSE (L400)
90445-116K9-00
Unavailable
20
CLIP
90467-100A1-00
Unavailable
21
HOSE (L1500)
90445-090F6-00
Unavailable
22
DAMPER, LOCATING 1
59V-24181-00-00
Unavailable
23
PATCH 1
8V7-21961-00-00
Unavailable
