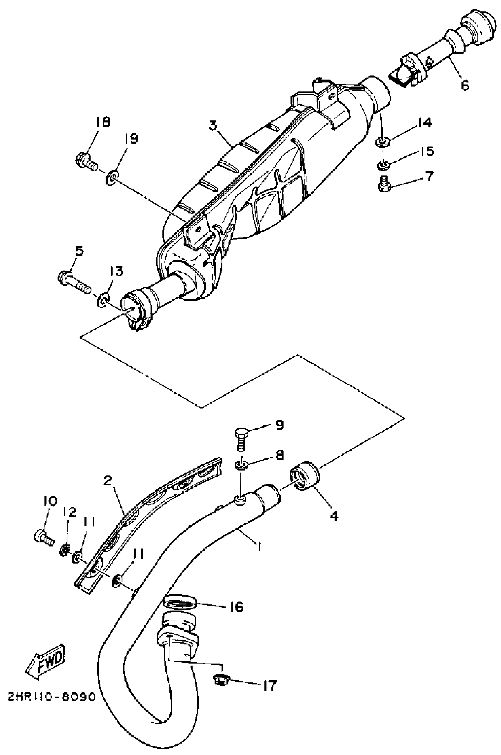
Yamaha YFM350ERD (MOTO-4) 3HP7 1992 EXHAUST Diagram
#
Description
Price
1
PIPE, EXHAUST 1
1YW-14611-02-00
Unavailable
2
PROTECTOR, EXHAUST PIPE
1YW-14628-00-00
Unavailable
3
MUFFLER 1
1YW-14711-02-00
Unavailable
11
WASHER, PROTECTOR
30X-14766-00-00
Unavailable
15
WASHER, SPRING
92995-06100-00
Unavailable
16
GASKET, EXHAUST PIPE
3GD-14613-00-00
Unavailable
17
NUT (1AE)
90179-06500-00
Unavailable
18
BOLT, FLANGE(JN5)
95817-08016-00
Unavailable
19
WASHER (853)
90201-08326-00
Unavailable
