Partiron

Yamaha YFM30GDR (GRIZZLY 300) 1SC51 2013 STEERING HANDLE CABLE Diagram

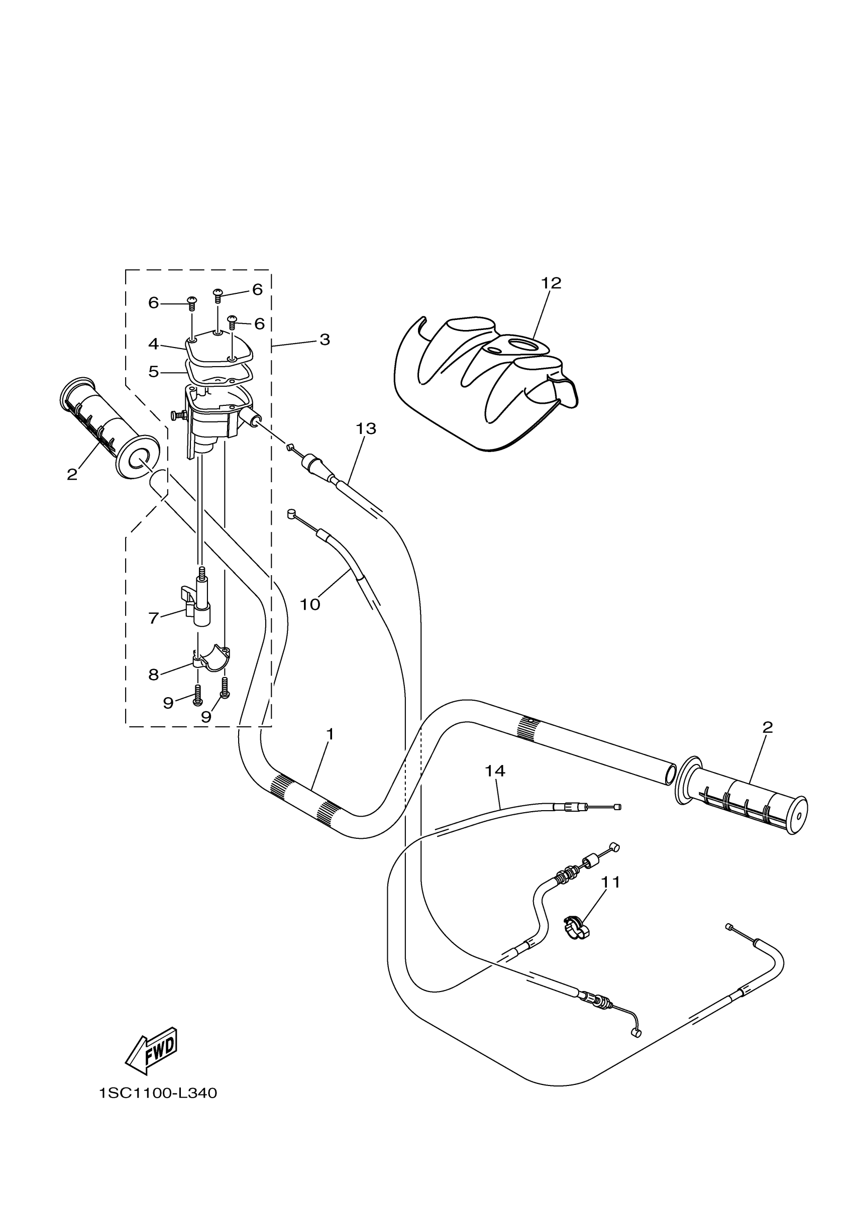
#

Description
Price

1

HANDLEBAR

1SC-F6111-00-00

Unavailable

2

GRIP (LEFT)

5LP-26241-00-00

$24.99

3

THROTTLE LEVER ASSY

1SC-F6250-00-00

$122.99

4

CAP, GEAR

1SC-F628F-00-00

$17.49

5

GASKET

1SC-F628G-00-00

Unavailable

6

SCREW

1SC-F632G-00-00

Unavailable

7

LEVER, THROTTLE

1SC-F625G-00-00

Unavailable

8

HOLDER, LEVER LOWER 1

1SC-H2913-00-00

Unavailable

9

BOLT, SOCKET

91317-05020-00

$3.28

10

WIRE, BRAKE 1

1SC-F6341-10-00

Unavailable

11

CLAMP, WIRE

1SC-F627E-00-00

Unavailable

12

PROTECTOR, HANDLEBAR

1SC-F6124-00-00

Unavailable

13

CABLE, THROTTLE 1

1SC-F6311-00-00

Unavailable

14

CABLE, STARTER 1

1SC-F6331-00-00

Unavailable