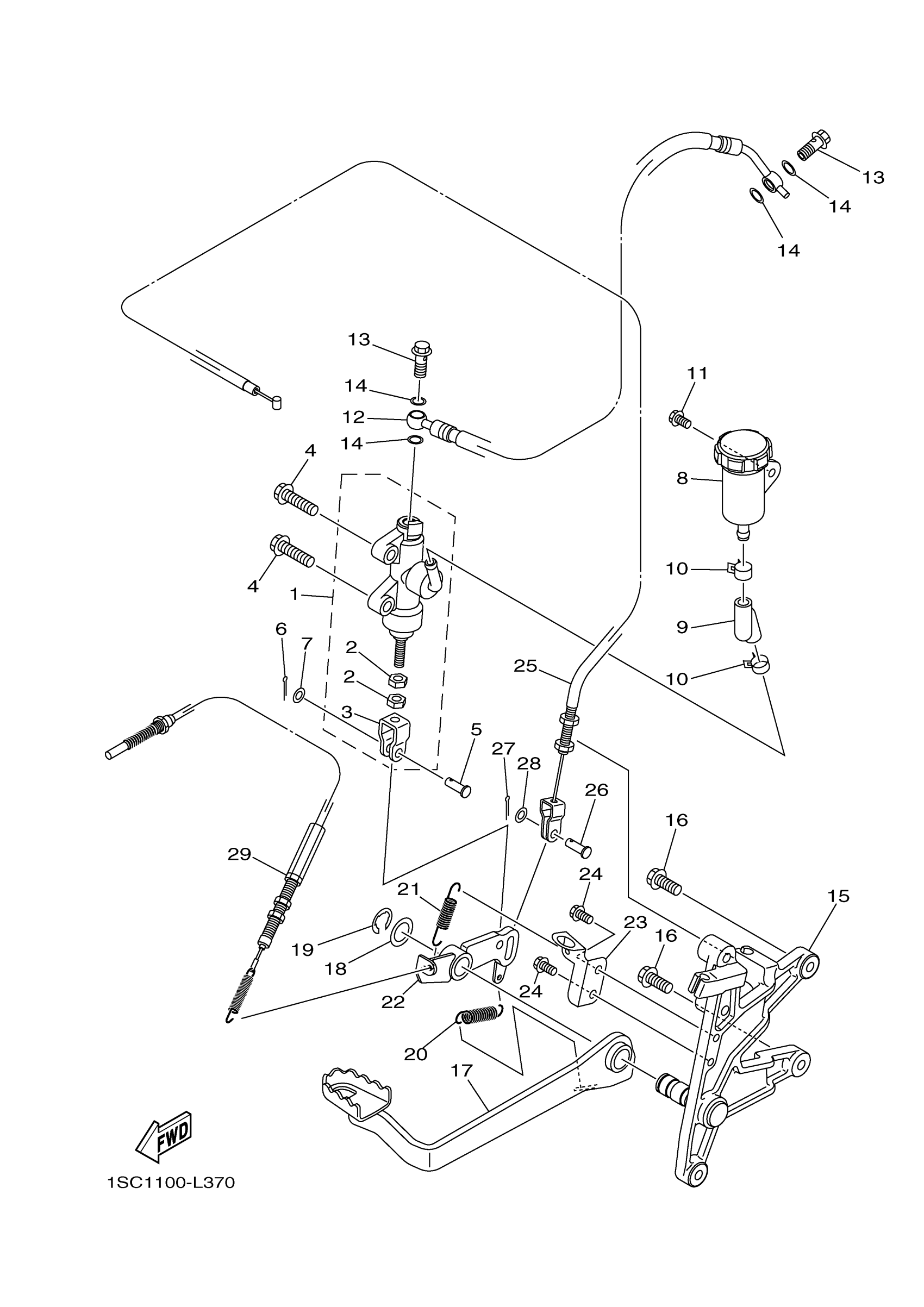
Yamaha YFM30GDR (GRIZZLY 300) 1SC51 2013 REAR MASTER CYLINDER Diagram
#
Description
Price
3
JOINT
1SC-F7222-00-00
Unavailable
5
PIN
1SC-F744G-00-00
Unavailable
7
WASHER,PLATE (2JA)
90201-064L6-00
Unavailable
8
RESERVE TANK ASSY.
1SC-F5804-00-00
Unavailable
9
HOSE, RESERVOIR
1SC-F5895-00-00
Unavailable
10
CLIP
1SC-F8457-00-00
Unavailable
12
HOSE, BRAKE
1SC-F5874-00-00
Unavailable
15
STAY
1SC-F629K-00-00
Unavailable
16
BOLT, FLANGE
95812-08020-00
Unavailable
17
PEDAL, BRAKE
1SC-F7211-00-00
Unavailable
18
WASHER
1SC-F7119-00-00
Unavailable
19
CLIP, SHIFT SHAFT
1SC-E8136-00-00
Unavailable
20
SPRING, RETURN
1SC-F7216-00-00
Unavailable
21
SPRING, RETURN
1SC-F7426-00-00
Unavailable
22
ARM
1SC-F7141-00-00
Unavailable
23
BRKT.,SWITCH
1SC-F7876-00-00
Unavailable
24
BOLT, FLANGE
95817-06012-00
Unavailable
25
CABLE, BRAKE
1SC-F6361-00-00
Unavailable
26
PIN
1SC-F744G-00-00
Unavailable
28
WASHER,PLATE (2JA)
90201-064L6-00
Unavailable
29
CABLE, CONTROL 2
1SC-F637F-00-00
Unavailable
