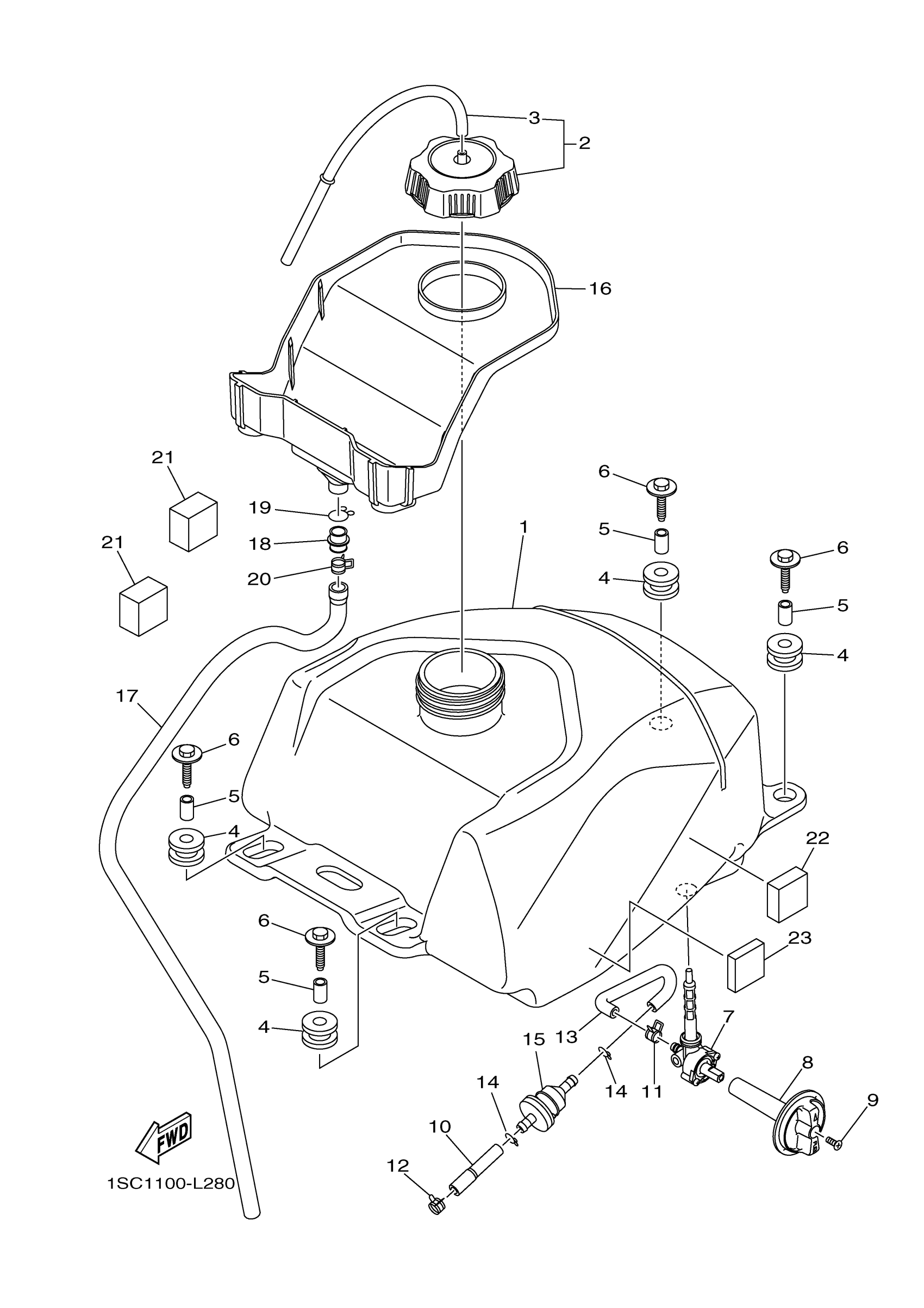
Yamaha YFM30GBL (GRIZZLY 300) 1SC11 2012 FUEL TANK Diagram
#
Description
Price
1
FUEL TANK COMP.
1SC-F4110-10-00
Unavailable
2
TANK CAP SET
1SC-F4670-00-00
Unavailable
7
FUEL COCK ASSY 1
1SC-F4500-10-00
Unavailable
10
TUBE 2
1SC-F41B5-10-00
Unavailable
11
. CLAMP, FUEL PIPE 1
43D-F4366-00-00
Unavailable
16
DAMPER, PLATE 1
1SC-F414H-00-00
Unavailable
17
TUBE, DRAIN
1SC-F417E-00-00
Unavailable
18
JOINT
1SC-F4478-00-00
Unavailable
19
CLIP 1
43D-E449C-00-00
Unavailable
20
CLIP
1SC-F411M-00-00
Unavailable
21
DAMPER
1SC-F4665-00-00
Unavailable
22
DAMPER
1SC-F466M-00-00
Unavailable
23
DAMPER, SEAT
1SC-F4724-00-00
Unavailable
