Partiron

Yamaha YFM25XS (BEARTRACKER) 4XEL 2004 STARTER Diagram

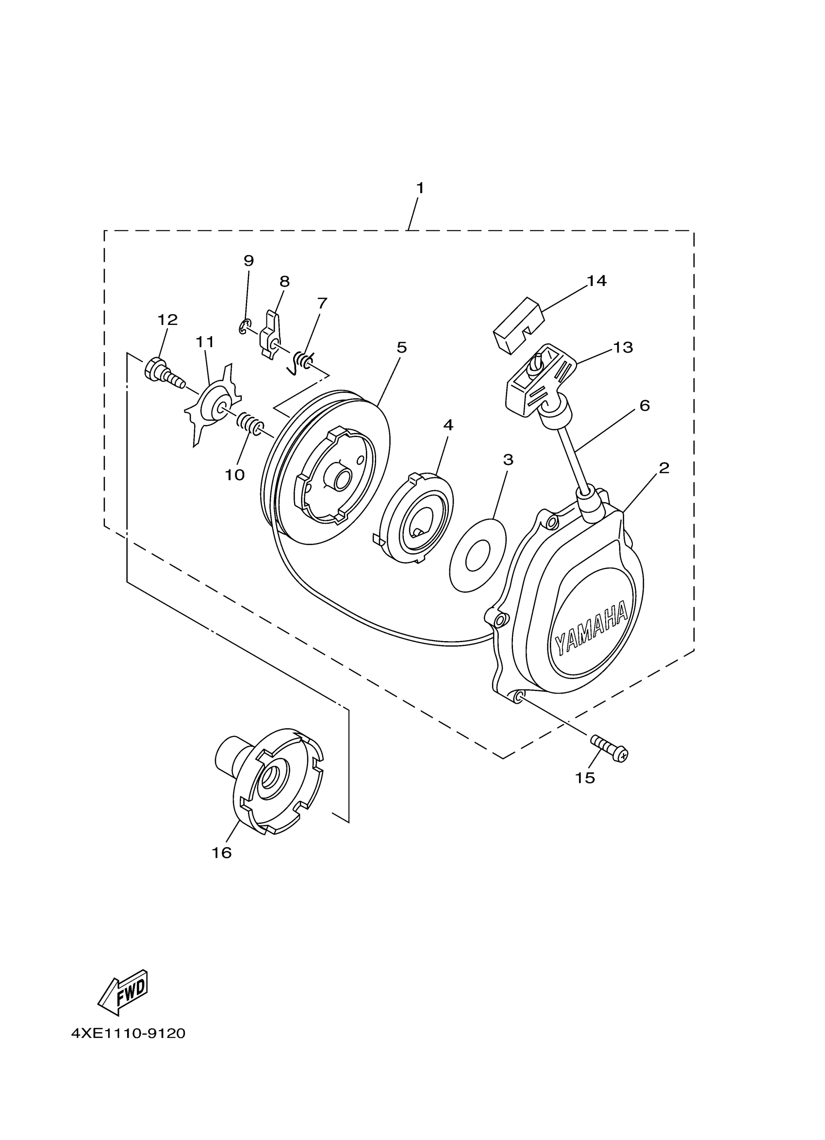
#

Description
Price

1

STARTER ASSY

4XE-E5710-00-00

Unavailable

2

. CASE, STARTER

4XE-E5711-00-00

Unavailable

3

. DAMPER

4XE-E5789-00-00

Unavailable

4

. SPRING, STARTER

4XE-E5713-00-00

Unavailable

5

. DRUM, SHEAVE

4XE-E5714-00-00

Unavailable

6

. WIRE, STARTER

4XE-E5751-00-00

Unavailable

7

. SPRING

4XE-E5767-00-00

Unavailable

8

. PAWL, DRIVE

4XE-E5741-00-00

Unavailable

9

. CIRCLIP

4XE-E5744-00-00

Unavailable

10

. SPRING, FRICTION

4XE-E5715-00-00

Unavailable

11

. PLATE, DRIVE

4XE-E5716-00-00

Unavailable

12

. SCREW

4XE-E5793-00-00

Unavailable

13

. HANDLE, STARTER

4XE-E5755-00-00

Unavailable

14

. COVER

4XE-E5779-00-00

Unavailable

15

SCREW, PAN

98517-06020-00

$8.49

16

PULLEY, STARTER

4XE-15723-00-00

Unavailable