Partiron

Yamaha YFM25RYW (RAPTOR 250) 4D3D0 2009 EXHAUST Diagram

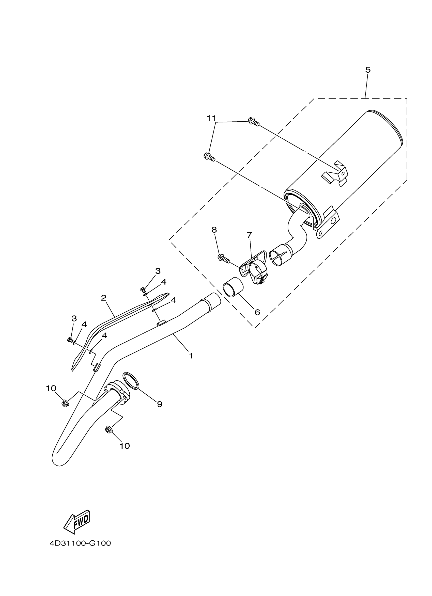
#

Description
Price

1

PIPE, EXHAUST 1

4D3-14611-00-00

$201.99

2

PROTECTOR, EXHAUST PIPE

4D3-14628-00-00

Unavailable

3

SCREW, BIND(2TV)

98980-06008-00

$3.19

4

WASHER, PLATE

90201-05017-00

Unavailable

5

MUFFLER ASSY 1

4D3-14710-10-00

Unavailable

6

GASKET, MUFFLER

3YF-14714-00-00

$36.99

7

PROTECTOR, MUFFLER 1

4D3-14718-00-00

Unavailable

8

BOLT, FLANGE(4GY)

95024-08025-00

$8.49

9

GASKET, EXHAUST PIPE

3GD-14613-00-00

$14.49

10

NUT,FLANGE(J10)

95702-08500-00

$1.43

11

BOLT, FLANGE(JN5)

95817-08016-00

$5.49