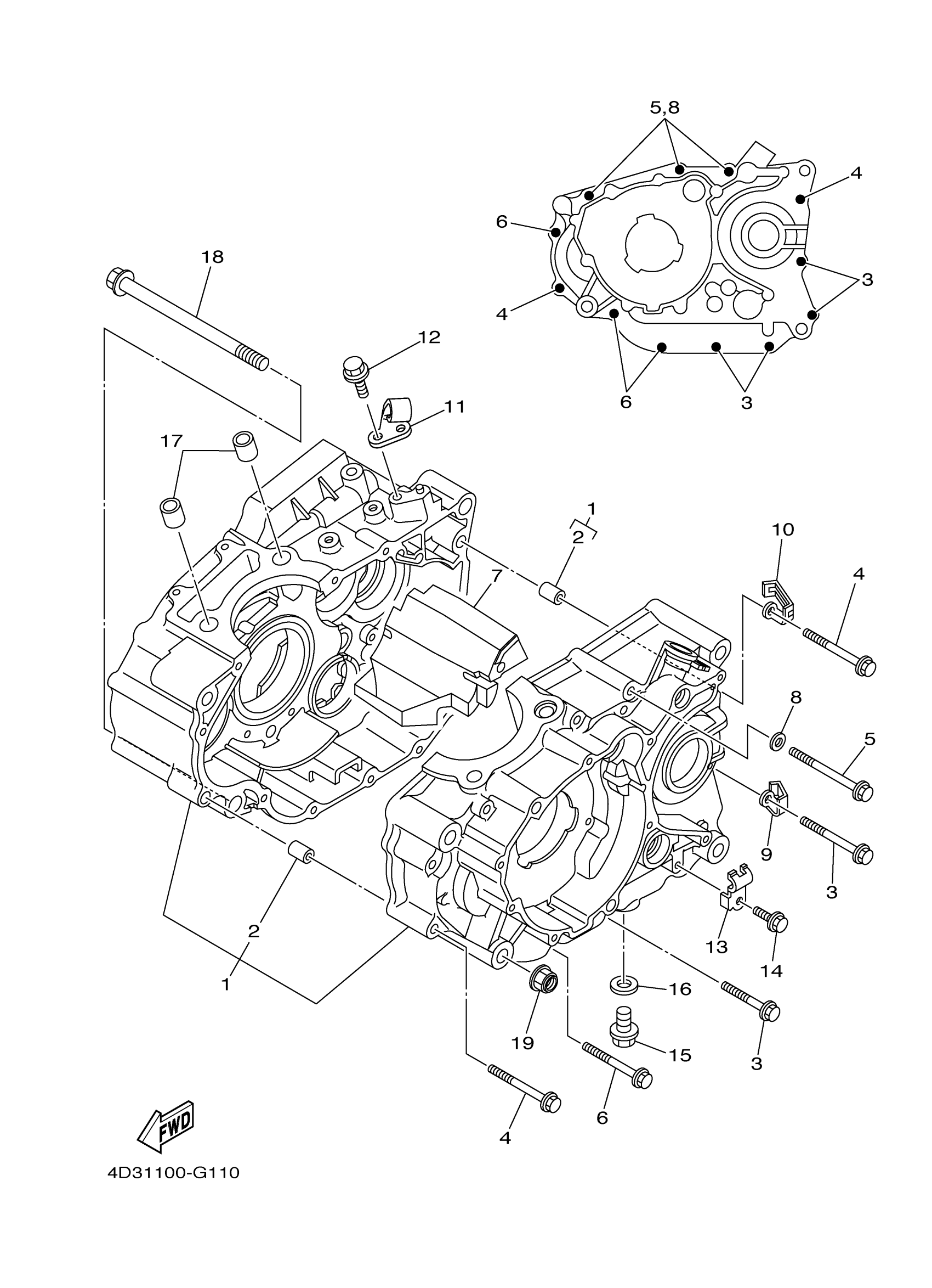
Yamaha YFM25RAW (RAPTOR 250) 1BT90 2011 CRANKCASE Diagram
#
Description
Price
7
SPACER, ENGINE MOUNT
4D3-15327-00-00
Unavailable
8
GASKET 256113960000
90430-06014-00
Unavailable
10
CLAMP
90461-08001-00
Unavailable
11
HOLDER, CLUTCH CABLE
4D3-15441-00-00
Unavailable
13
CLAMP(4GY)
90462-10215-00
Unavailable
16
GASKET(3FD)
90430-12213-00
Unavailable
17
PIN, DOWEL
99530-14016-00
Unavailable
18
BOLT, FLANGE
95812-10170-00
Unavailable
19
NUT, S/L FLANGE
95602-10200-00
Unavailable
