Yamaha YFM25BW (BIG BEAR 250) 1P09 2007 REAR WHEEL Diagram
#
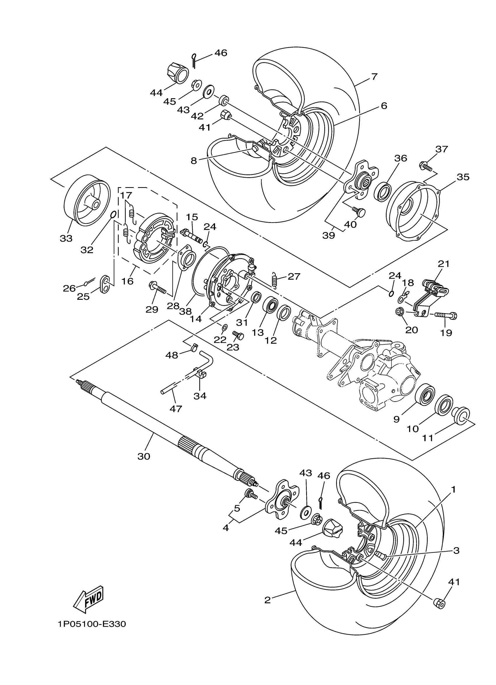
1
REAR WHEEL COMP.
4XE-F5390-50-00
Unavailable
2
TIRE (AT 22X10-10, M-906)
94110-10800-00
Unavailable
3
VALVE, RIM
93900-00810-00
Unavailable
5
BOLT
1P0-F5411-00-00
Unavailable
6
REAR WHEEL COMP.
4XE-F5390-50-00
Unavailable
7
TIRE (AT 22X10-10, M-906)
94110-10800-00
Unavailable
8
VALVE, RIM
93900-00810-00
Unavailable
9
BEARING
93306-008Y1-00
Unavailable
14
PLATE, BRAKE SHOE
5VH-F5321-11-00
Unavailable
16
BRAKE SHOE SET
5VH-WF536-00-00
Unavailable
17
SPRING, RETURN
5VH-F5333-01-00
Unavailable
18
PLATE, INDICATOR
5FU-F533A-11-00
Unavailable
19
BOLT
90101-06824-00
Unavailable
20
NUT, U FLANGE
95604-06200-00
Unavailable
21
LEVER, CAMSHAFT
1P0-F5355-01-00
Unavailable
22
GASKET
5VH-F5898-00-00
Unavailable
23
BOLT, CALIPER
5VH-F5818-00-00
Unavailable
24
SEAL, CAMSHAFT
5VH-F5359-00-00
Unavailable
25
PLATE 1
5VH-F539F-01-00
Unavailable
26
PIN, COTTER
91490-25020-00
Unavailable
27
SPRING, TENSION(4GB)
90506-16482-00
Unavailable
28
RETAINER
4XE-G6513-00-00
Unavailable
29
BOLT, FLANGE
90105-088A4-00
Unavailable
30
AXLE, WHEEL
1P0-F5381-01-00
Unavailable
31
COLLAR(2NL)
90387-284T0-00
Unavailable
32
O-RING(22F)
93210-26662-00
Unavailable
33
DRUM ASSY WITH RING
5FU-F5310-10-00
Unavailable
34
CLIP (867)
90468-15020-00
Unavailable
35
COVER, PLATE
5FU-F5327-01-00
Unavailable
36
SEAL, HUB DUST
5FU-F5319-10-00
Unavailable
37
BOLT, FLANGE
95817-06012-00
Unavailable
38
SEAL, DUST
5FU-F537Y-00-00
Unavailable
39
COLLAR, WHEEL
5FU-F5377-11-00
Unavailable
40
BOLT
1P0-F5411-00-00
Unavailable
41
NUT(2HR)
90179-10540-00
Unavailable
42
WASHER, WHEEL
5FU-F5384-00-00
Unavailable
43
WASHER, PLATE
90201-16804-00
Unavailable
44
CAP, WHEEL
52H-2512A-00-00
Unavailable
45
NUT, CASTLE
90171-16001-00
Unavailable
46
PIN, COTTER
91490-30030-00
Unavailable
47
HOSE
90445-07810-00
Unavailable
48
CLIP(42X)
90467-07093-00
Unavailable
