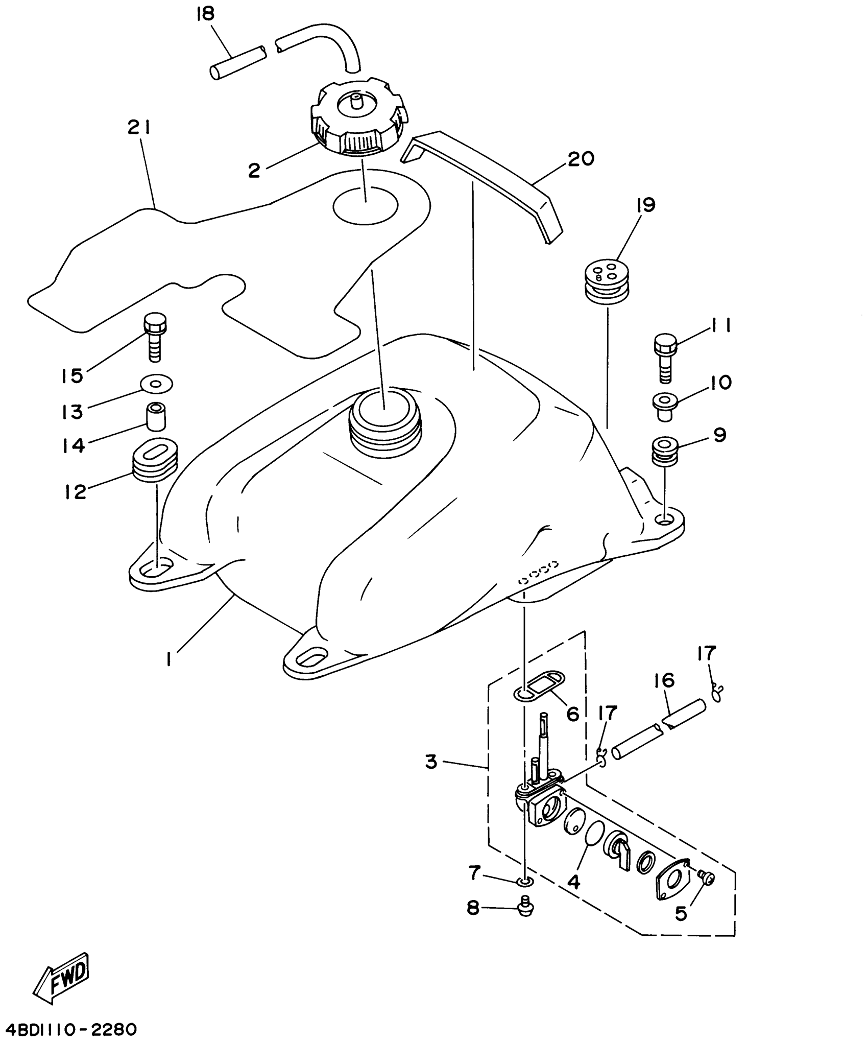
Yamaha YFM250XP (BEAR TRACKER 2WD_REALTREE) 4XEE1 2002 FUEL TANK Diagram
#
Description
Price
1
FUEL TANK COMP.
4XE-F4110-10-00
Unavailable
16
PIPE, FUEL 1
4XE-24311-00-00
Unavailable
17
CLIP
90467-100A1-00
Unavailable
18
HOSE
90445-08809-00
Unavailable
19
GROMMET
4BD-24339-00-00
Unavailable
20
DAMPER, LOCATING 1
4XE-F4181-00-00
Unavailable
21
DAMPER, PLATE 1
4XE-F414H-00-00
Unavailable
