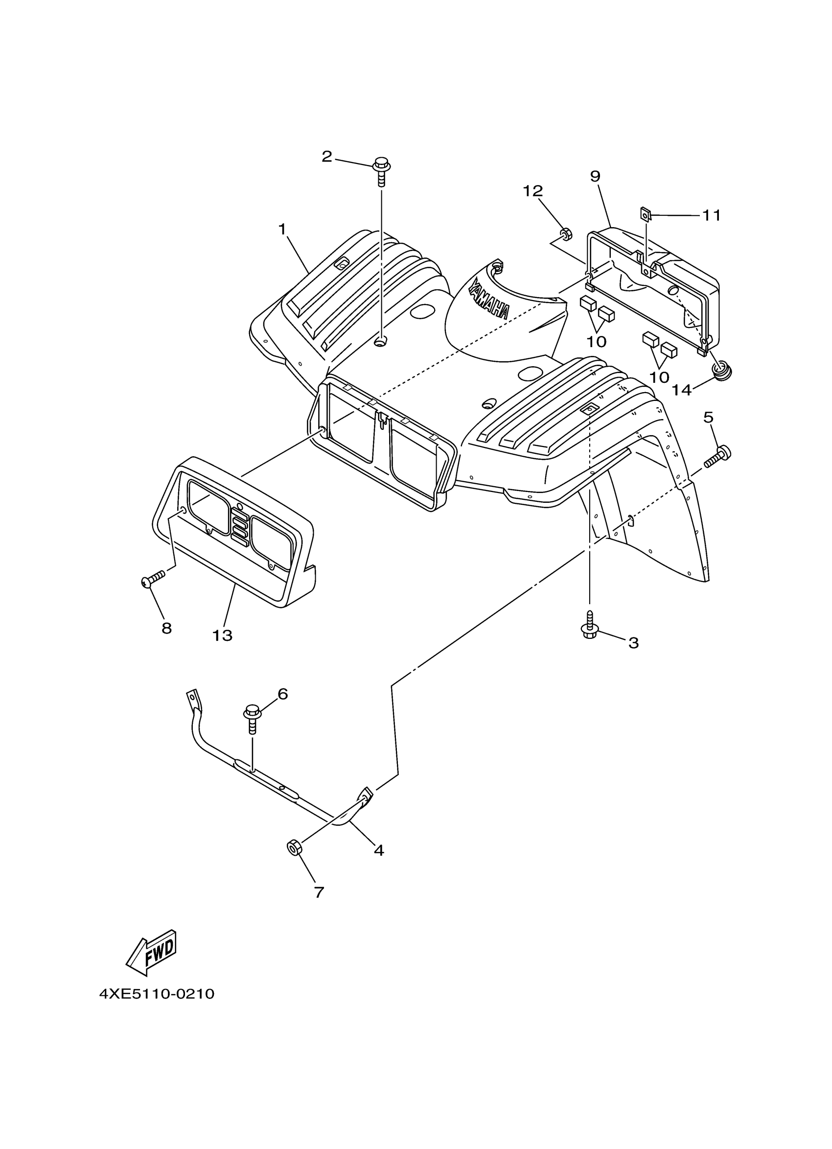
Yamaha YFM250XN (BEAR TRACKER_REALTREE) 4XEA 2001 FRONT FENDER Diagram
#
Description
Price
1
FRONT FENDER ASSY (ROMANTIQUE ROUGE)
4XE-F1500-00-00
Unavailable
1
FRONT FENDER ASSY (PASTEL DEEP GREEN)
4XE-F1500-10-00
Unavailable
1
FRONT FENDER ASSY (DARK GRAYISH YELLOW SOLID 1)
4XE-F1500-20-00
Unavailable
4
STAY, FENDER 1
4XE-F1513-00-00
Unavailable
8
SCREW, BINDING (8K8)
90154-05006-00
Unavailable
9
BODY, HEADLIGHT
4XE-H4111-00-00
Unavailable
10
DAMPER
4XE-F1717-00-00
Unavailable
13
PANEL, FRONT
4XE-F3391-00-00
Unavailable
14
. GROMMET
90480-25461-00
Unavailable
