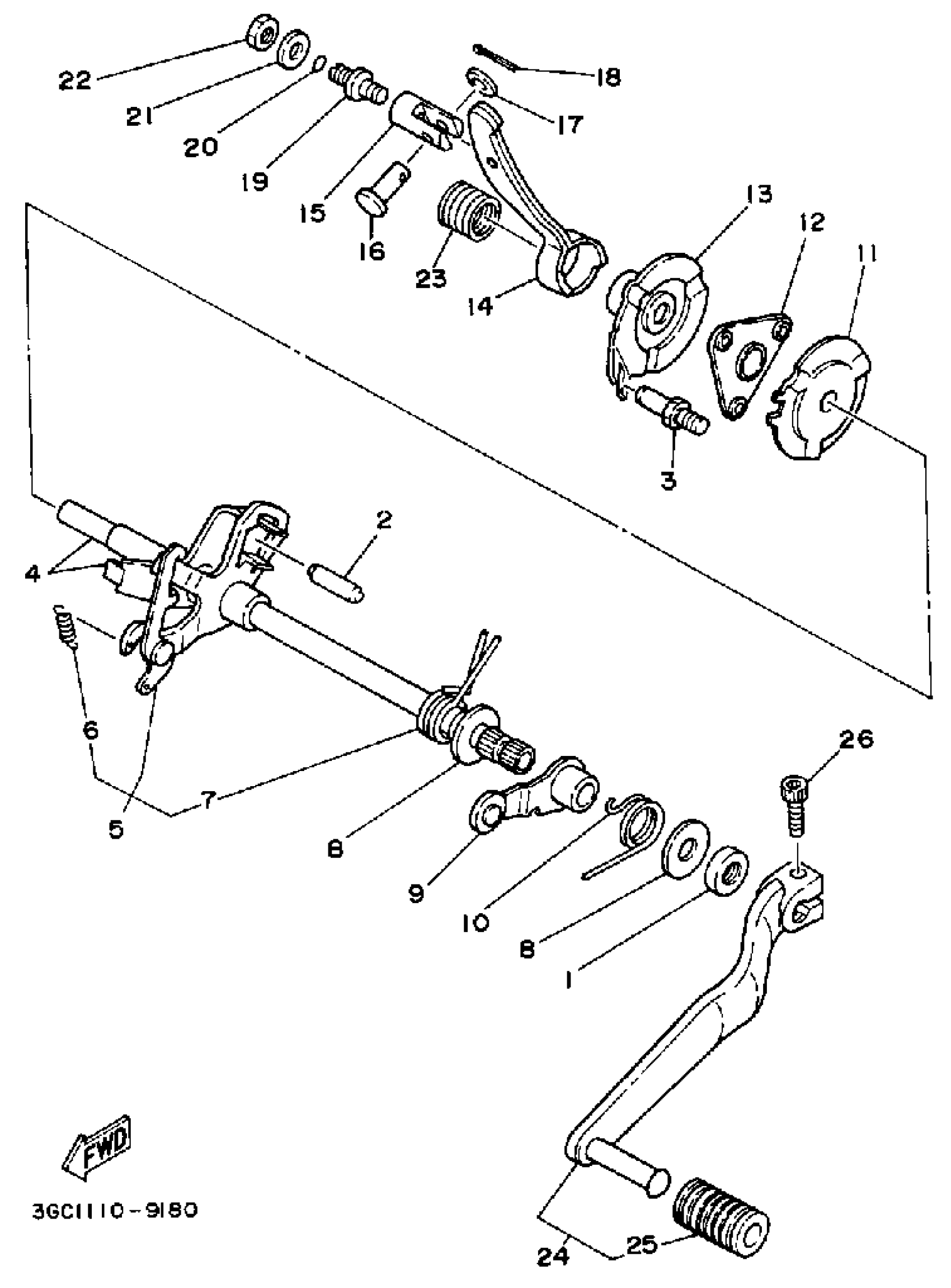
Yamaha YFM250B (MOTO-4) 3GH5 1991 SHIFT SHAFT Diagram
#
Description
Price
2
PIN, DOWEL
93608-30152-00
Unavailable
3
BOLT, STOPPER
21V-18177-00-00
Unavailable
4
SHAFT,SHIFT
3GH-18103-01-00
Unavailable
5
SHIFT LEVER ASSY
21V-18120-00-00
Unavailable
7
. SPRING, TORSION
90508-29570-00
Unavailable
9
STOPPER LEVER ASSY
4G0-18140-00-00
Unavailable
11
GUIDE
24W-18179-00-00
Unavailable
12
HOLDER, PAWL
21V-18181-00-00
Unavailable
14
ARM, SHIFT 3
2HT-1817A-00-00
Unavailable
15
PIN, LEVER
21V-18126-00-00
Unavailable
16
PIN, JOINT
21V-18118-00-00
Unavailable
17
.. WASHER, PLATE
92990-08600-00
Unavailable
18
PIN, COTTER
91490-16020-00
Unavailable
19
STOPPER, SCREW
21V-18127-00-00
Unavailable
20
O-RING (21V)
93210-07590-00
Unavailable
21
WASHER (1T1)
90201-08649-00
Unavailable
22
NUT, HEXAGON SMALL
95317-08700-00
Unavailable
23
SPRING, COMPRESSION
90501-16768-00
Unavailable
24
SHIFT PEDAL ASSEMBLY
52H-18110-01-00
Unavailable
25
COVER, CHANGE PEDAL
132-18113-01-00
Unavailable
26
BOLT
90109-06779-00
Unavailable
