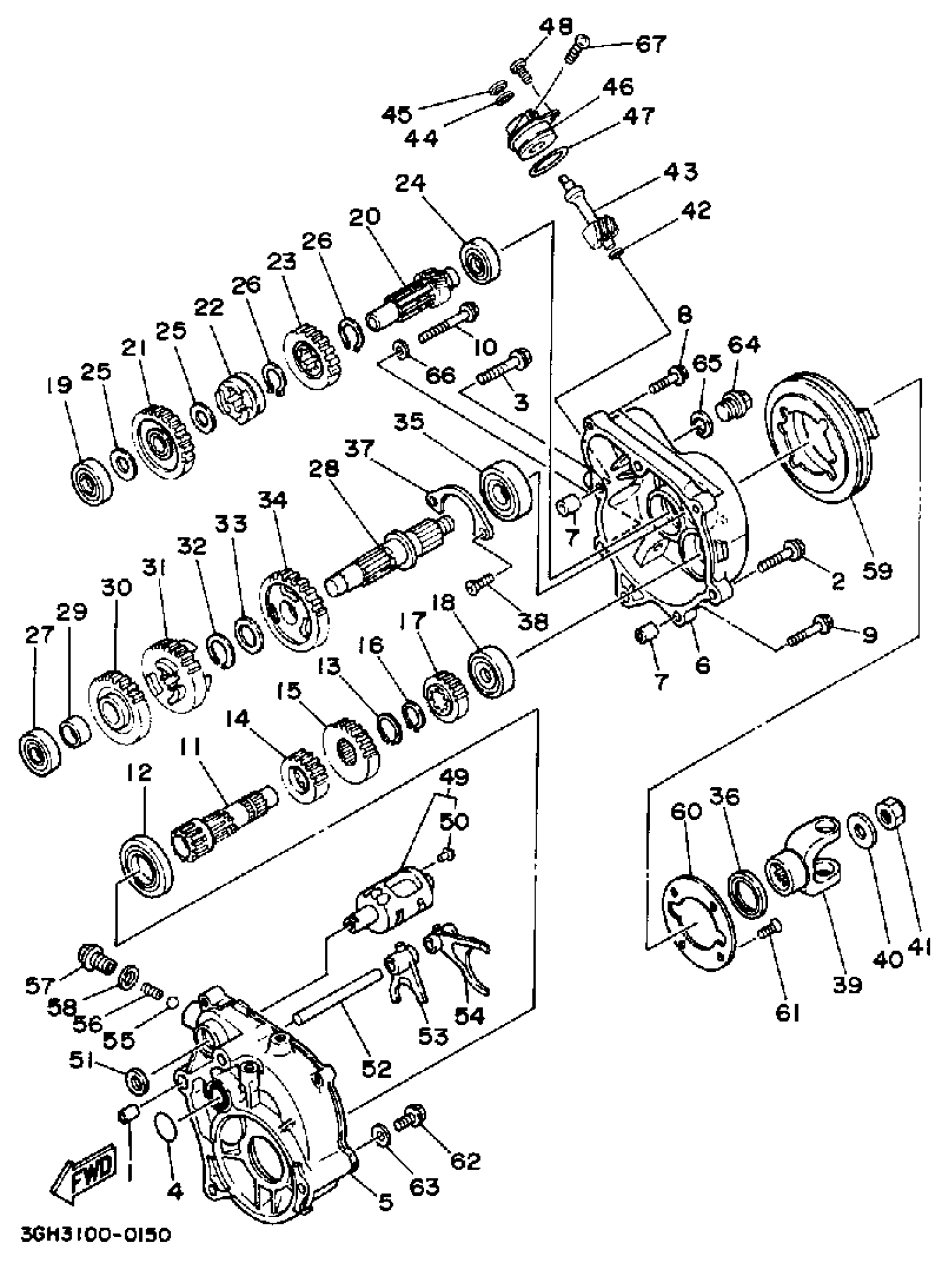
Yamaha YFM250A (MOTO-4) 1990 SUB TRANSMISSION Diagram
#
5
CASE, TRANSMISSION
3GH-17911-00-00
Unavailable
6
CASE, TRANSMISSION
3GH-17912-01-00
Unavailable
11
AXLE, DRIVE GEAR
(3GH-17861-00-00)
Unavailable
12
BEARING
93306-90702-00
Unavailable
14
GEAR, REV. PINION 1 (15T)
3GH-17143-01-00
Unavailable
15
GEAR, HIGH PINION
3GH-17123-00-00
Unavailable
16
CIRCLIP(52H)
93410-20070-00
Unavailable
17
GEAR, LOW PINION
3GH-17133-00-00
Unavailable
18
BRG,R-B 6303 47MM 115G NK
93306-30302-00
Unavailable
19
BEARING(37F)
93306-20335-00
Unavailable
20
AXLE, COUNTER
3GH-17431-00-00
Unavailable
21
GEAR, REV. WHEEL 1
3GH-17243-00-00
Unavailable
22
CLUTCH, DOG
(3GH-17285-00-00)
Unavailable
23
GEAR, REV. PINION 2
3GH-17153-00-00
Unavailable
24
BEARING(37F)
93306-20335-00
Unavailable
25
WASHER, PLATE
90201-174E3-00
Unavailable
26
CIRCLIP (537)
93410-22039-00
Unavailable
27
BEARING(37F)
93306-20335-00
Unavailable
28
SHAFT
3GH-17523-00-00
Unavailable
29
COLLAR (3V3)
90387-202A0-00
Unavailable
30
GEAR, HIGH WHEEL
3GH-17223-00-00
Unavailable
31
GEAR, REV. WHEEL 2
3GH-17253-00-00
Unavailable
33
WASHER (3J3)
90209-22191-00
Unavailable
34
GEAR, LOW WHEEL
3GH-17233-00-00
Unavailable
35
BRG,R-B 6205C4 52MM 130G KY
93306-20529-00
Unavailable
36
OIL SEAL(1UY)
93102-35393-00
Unavailable
37
PLATE, BEARING COVER
1UY-15383-00-00
Unavailable
38
SCREW, COUNTERSUNK (4H7)
90151-06014-00
Unavailable
39
YOKE, JOINT
3GH-17556-00-00
Unavailable
40
WASHER, PLATE (3GH)
(90201-144M8-00)
Unavailable
41
NUT, SELF-LOCKING (1J7)
90185-14070-00
Unavailable
42
WASHER (8A7)
90201-08452-00
Unavailable
43
GEAR, DRIVEN
(3GH-17841-00-00)
Unavailable
44
WASHER (692)
90201-12M34-00
Unavailable
45
OIL SEAL (30X)
93102-08307-00
Unavailable
46
HOUSING, TACH GEAR
(3GH-17811-00-00)
Unavailable
47
O-RING
93210-35804-00
Unavailable
48
SCREW, PAN HEAD(3TJ)
98507-06016-00
Unavailable
49
SHIFTER ASSEMBLY
3GH-18420-01-00
Unavailable
50
POINT, NEUTRAL
3GH-18542-00-00
Unavailable
51
OIL SEAL (3X3)
93102-15212-00
Unavailable
52
BAR, SHIFT FORK GUIDE 2
(22U-18535-00-00)
Unavailable
53
FORK, SHIFT 1
3GH-18311-00-00
Unavailable
54
FORK, SHIFT 2
3GH-18312-00-00
Unavailable
55
BALL
93503-08007-00
Unavailable
56
SPRING, COMPRESSION
90501-143F6-00
Unavailable
57
BOLT, WASHER BASED(59V)
90105-14367-00
Unavailable
58
GASKET(59V)
90430-14194-00
Unavailable
59
BOOT, RUBBER
3GH-22189-00-00
Unavailable
60
PLATE 1
3GH-17665-00-00
Unavailable
61
SCREW, FLAT
98707-06012-00
Unavailable
62
BOLT, FLANGE
95817-08012-00
Unavailable
63
WASHER, PLATE 3411117500
90201-08087-00
Unavailable
64
PLUG, STRAIGHT SCREW
90340-16019-00
Unavailable
65
GASKET
90430-16048-00
Unavailable
66
GASKET 256113960000
90430-06014-00
Unavailable
67
SCREW, PAN
98507-06035-00
Unavailable
