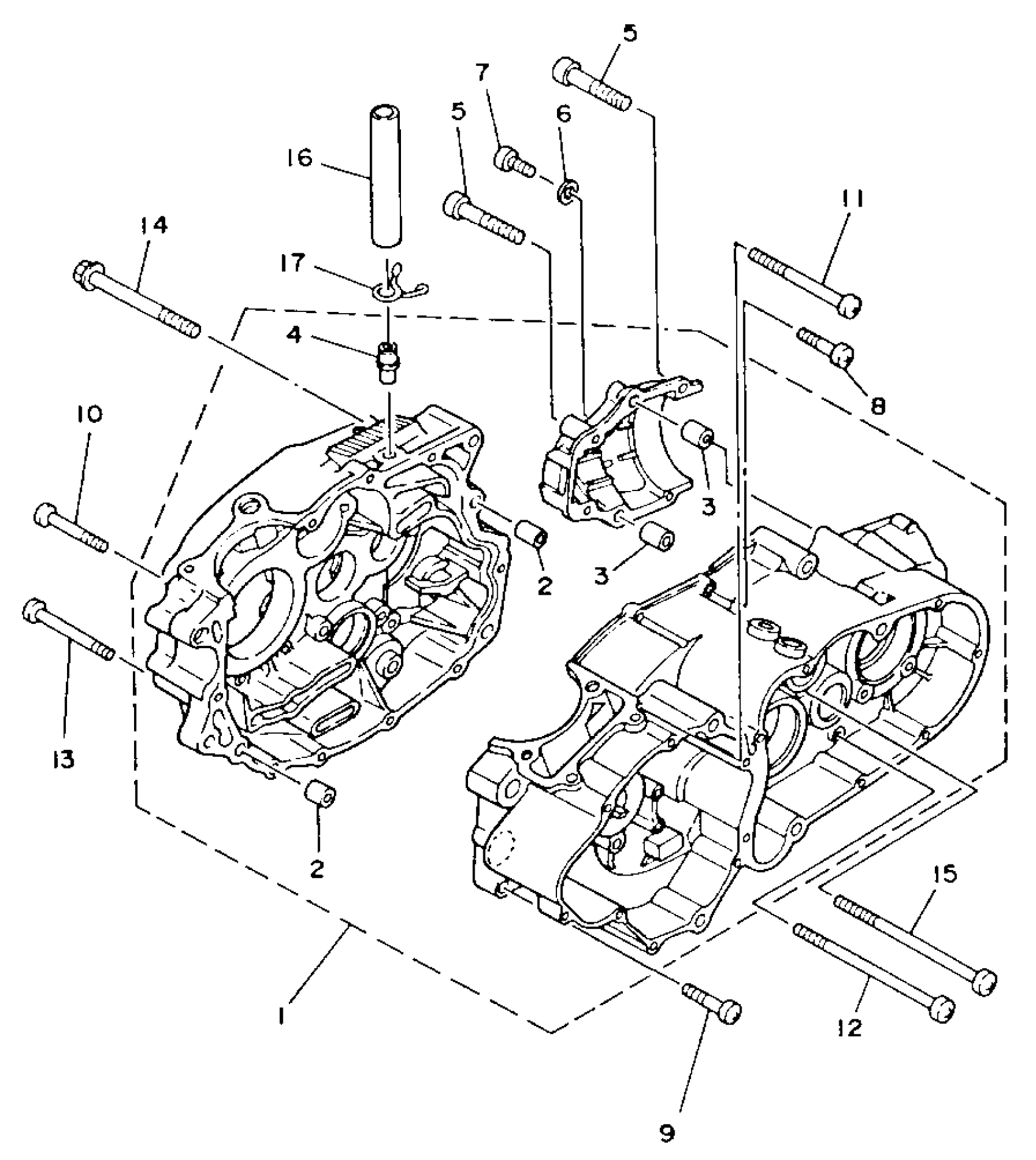
Yamaha YFM225U (MOTO-4) 1988 CRANKCASE Diagram
#
Description
Price
1
CRANKCASE ASSEMBLY
2HT-15100-00-00
Unavailable
4
PIPE, BREATHER 2
59V-11167-00-00
Unavailable
8
SCREW, PAN HEAD(6E0)
97885-06030-00
Unavailable
10
SCREW, BIND (JH1)
98580-06560-00
Unavailable
16
HOSE
90445-121E3-00
Unavailable
17
CLIP(3YX)
90467-13133-00
Unavailable
