Partiron

Yamaha YFM225S (MOTO-4) 59V 1986 SEAT Diagram

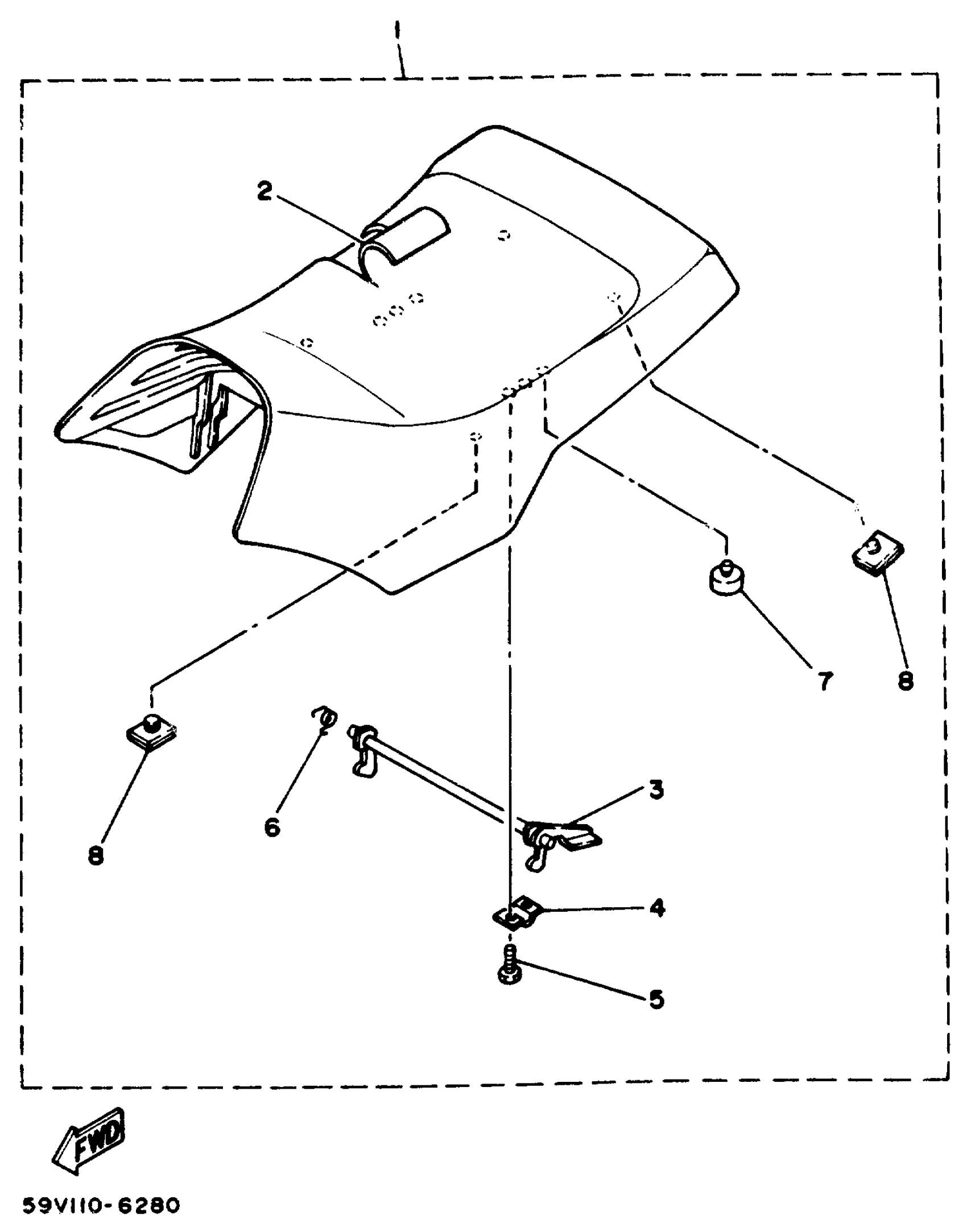
#

Description
Price

1

SINGLE SEAT ASSEMBLY

59V-24710-00-00

Unavailable

2

. COVER, SINGLE SEAT

59V-24711-00-00

Unavailable

3

LEVER, SEAT

59V-24776-01-00

Unavailable

4

. BRACKET, SEAT LEVER

59V-24775-00-00

Unavailable

5

BOLT (661)

97013-06012-00

$5.60

6

SPRING, TORSION (21V)

90508-23567-00

$8.49

7

STOPPER, MAIN STAND

371-27114-00-00

$7.99

8

DAMPER, SEAT

509-24724-00-00

$10.99