Yamaha YFM200N (MOTO-4) 1985 DRIVE SHAFT Diagram
#
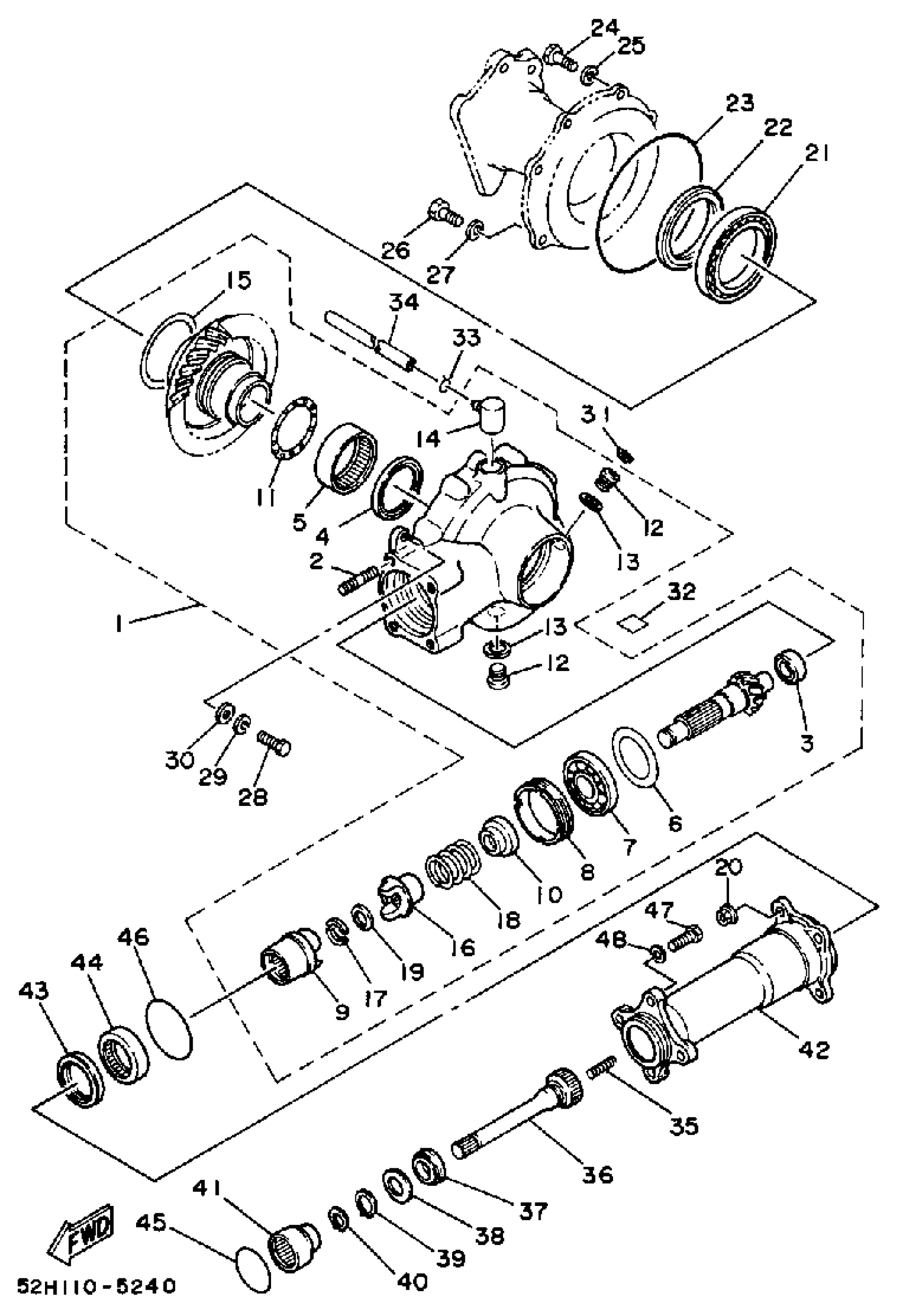
1
RR AXL GR CASE ASSEMBLYCASE ASSEMBLY
52G-46101-01-00
Unavailable
3
. BEARING ASSY
24W-46102-00-00
Unavailable
7
BEARING(4KB)
93306-30568-00
Unavailable
8
. RETAINER, BEARING
24W-46125-00-00
Unavailable
9
. COUPLING, GEAR (52G-46123-00)
1NU-46123-00-00
Unavailable
10
. HOLDER
52G-17524-00-00
Unavailable
11
WASHER, THRUST
24W-46118-00-12
Unavailable
11
WASHER, THRUST
24W-46118-00-16
Unavailable
11
WASHER, THRUST
24W-46118-00-18
Unavailable
11
WASHER, THRUST
24W-46118-00-20
Unavailable
12
PLUG, STRAIGHT SCREW
90340-14002-00
Unavailable
13
GASKET
214-11198-01-00
Unavailable
14
BREATHER
2H7-17591-01-00
Unavailable
15
. SHIM, RING GEAR (025T)
24W-46117-00-25
Unavailable
15
. SHIM, RING GEAR (030T)
24W-46117-00-30
Unavailable
15
. SHIM, RING GEAR (040T)
24W-46117-00-40
Unavailable
15
. SHIM, RING GEAR (050T)
24W-46117-00-50
Unavailable
15
. UNAVAILABLE IN PRICE BOOK
24W-46117-00-55
Unavailable
16
CAM, DRIVEN (24W-17527-00)
24W-17527-01-00
Unavailable
17
. WASHER, THRUST
52G-17529-00-00
Unavailable
18
. SPRING, COMPRESSION
90501-655A6-00
Unavailable
19
WASHER, PLATE (2K7)
90201-17682-00
Unavailable
20
NUT, FLANGE
95704-08500-00
Unavailable
21
BEARING, CYLINDRICAL (22U)
93316-01301-00
Unavailable
22
OIL SEAL (22U)
93102-65277-00
Unavailable
23
O-RING (1J7)
93211-44348-00
Unavailable
24
BOLT (682)
97013-08025-00
Unavailable
25
.. WASHER, PLATE
92990-08600-00
Unavailable
26
BOLT(6TD)
97017-10025-00
Unavailable
27
WASHER, PLATE
92990-10600-00
Unavailable
28
BOLT(6TD)
97017-10025-00
Unavailable
29
YBS67-10 WASHER, SPRING
92990-10100-00
Unavailable
30
WASHER, PLATE
92990-10600-00
Unavailable
31
CAP, BOLT (371,447)
341-23469-00-00
Unavailable
32
LABEL, OIL CAUTION
4H7-46181-10-00
Unavailable
33
CLIP (1J7)
90467-07029-00
Unavailable
34
HOSE
(90445-075A9-00)
Unavailable
35
SPRING, COMPRESSION
90501-132A0-00
Unavailable
36
SHAFT, DRIVE
52H-46172-00-00
Unavailable
37
OIL SEAL, OSO-TYPE
93108-35012-00
Unavailable
38
WASHER, PLATE(3HN)
90201-225M9-00
Unavailable
39
CIRCLIP(52H)
93410-20070-00
Unavailable
40
CIRCLIP(1EY)
99009-17400-00
Unavailable
41
COUPLING, GEAR
52H-46123-00-00
Unavailable
42
HOUSING, BEARING
52H-46152-00-00
Unavailable
43
OIL SEAL, S-TYPE
93101-40129-00
Unavailable
44
BEARING, CYLINDER.#15
93315-64037-00
Unavailable
45
O-RING(52H)
93210-47675-00
Unavailable
46
O-RING (11H)
93210-59531-00
Unavailable
47
BOLT (682)
97013-08025-00
Unavailable
48
.. WASHER, PLATE
92990-08600-00
Unavailable
