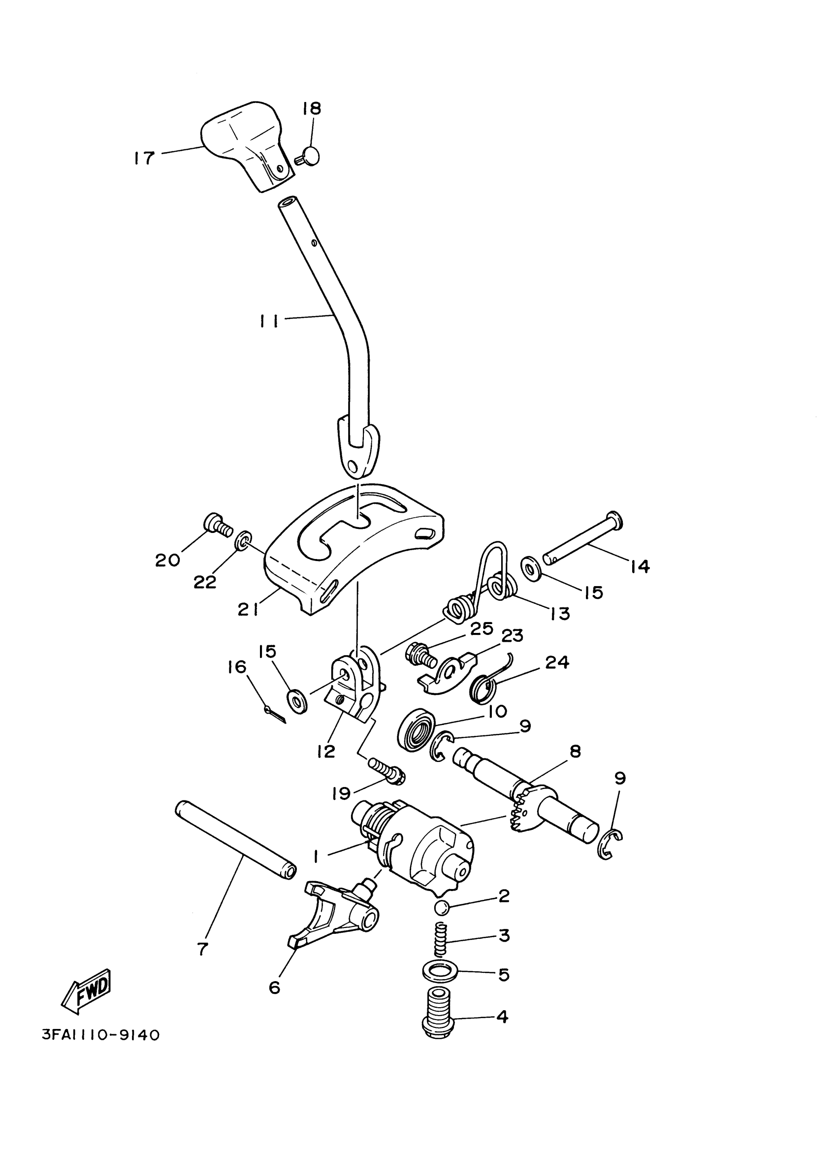
Yamaha YFM125GYGR (GRIZZLY 125) 1C5M0 2009 SHIFT CAM FORK Diagram
#
Description
Price
6
FORK, SHIFT 2
4GB-18512-00-00
Unavailable
9
. CIRCLIP
99001-12600-00
Unavailable
14
PIN, CLEVIS(3FA)
91701-08058-00
Unavailable
15
.. WASHER, PLATE
92990-08600-00
Unavailable
16
PIN, COTTER
91490-25020-00
Unavailable
17
KNOB, SHIFT LEVER
3FA-18174-00-00
Unavailable
18
RIVET(81E)
90269-05055-00
Unavailable
19
BOLT, FLANGE
95822-06025-00
Unavailable
20
BOLT(3MA)
91312-06016-00
Unavailable
21
BRACKET
3FA-18128-00-00
Unavailable
22
WASHER, PLAIN (646)
92990-06600-00
Unavailable
23
LEVER
3FA-18191-00-00
Unavailable
24
SPRING, TORSION(3FA)
90508-12761-00
Unavailable
25
BOLT
90109-06190-00
Unavailable
