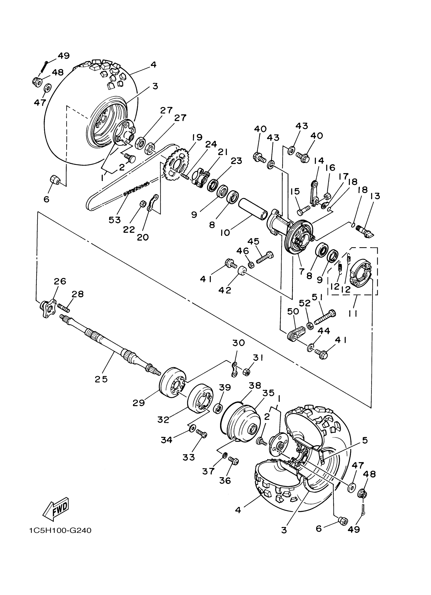
Yamaha YFM125GXL (GRIZZLY 125) 1C5H 2008 REAR WHEEL Diagram
#
1
COLLAR, WHEEL
1C5-25383-00-00
Unavailable
4
TIRE (AT22X10-8 DI-K735A T/L N
94110-08009-00
Unavailable
7
HUB, REAR
3FA-25311-00-00
Unavailable
15
BOLT
90101-06046-00
Unavailable
16
NUT, HEXAGON
95380-06600-00
Unavailable
17
PLATE, INDICATOR
23F-2533A-00-00
Unavailable
18
O-RING (26H)
93210-14579-00
Unavailable
19
SPROCKET, DRIVEN (32T)
3FA-25432-20-00
Unavailable
20
WASHER
10V-25412-00-00
Unavailable
21
COLLAR, SPROCKET AXLE
3FA-25386-00-00
Unavailable
22
NUT
90170-10011-00
Unavailable
23
COVER, HUB DUST
5V6-25367-00-00
Unavailable
24
BOLT, STUD
90116-10042-00
Unavailable
25
AXLE, WHEEL
3FA-25381-10-00
Unavailable
26
BOSS
3FA-25343-00-00
Unavailable
27
NUT
90170-33011-00
Unavailable
28
BOLT, STUD
90116-08084-00
Unavailable
29
DRUM, BRAKE
3FA-2531E-00-00
Unavailable
30
WASHER, LOCK
40E-25834-00-00
Unavailable
31
NUT
95302-08600-00
Unavailable
32
RING 2
3FA-25336-00-00
Unavailable
33
SCREW, PAN HEAD(3LA)
98517-05010-00
Unavailable
34
WASHER, PLAIN (646)
92990-05600-00
Unavailable
35
COVER 1
55X-25715-00-00
Unavailable
36
SCREW, PAN
98517-06012-00
Unavailable
37
WASHER, PLAIN (646)
92990-06600-00
Unavailable
38
O-RING(55X)
93211-63688-00
Unavailable
39
OIL SEAL (705)
93102-35191-00
Unavailable
40
BOLT, FLANGE
90105-12060-00
Unavailable
41
BOLT, FLANGE
90105-10280-00
Unavailable
42
COLLAR(3FA)
90387-113W0-00
Unavailable
43
WASHER, PLATE
90201-12048-00
Unavailable
44
WASHER, PLATE
90201-10052-00
Unavailable
45
BOLT
90101-08056-00
Unavailable
46
NUT
95302-08600-00
Unavailable
47
WASHER, PLATE
90201-14021-00
Unavailable
48
NUT, CASTLE
90171-14004-00
Unavailable
49
PIN, COTTER
91490-30030-00
Unavailable
50
PULLER, CHAIN 1
1UY-25388-00-00
Unavailable
51
BOLT(1KT)
90101-08647-00
Unavailable
52
NUT
95302-08600-00
Unavailable
53
CHAIN
94582-02074-00
Unavailable
