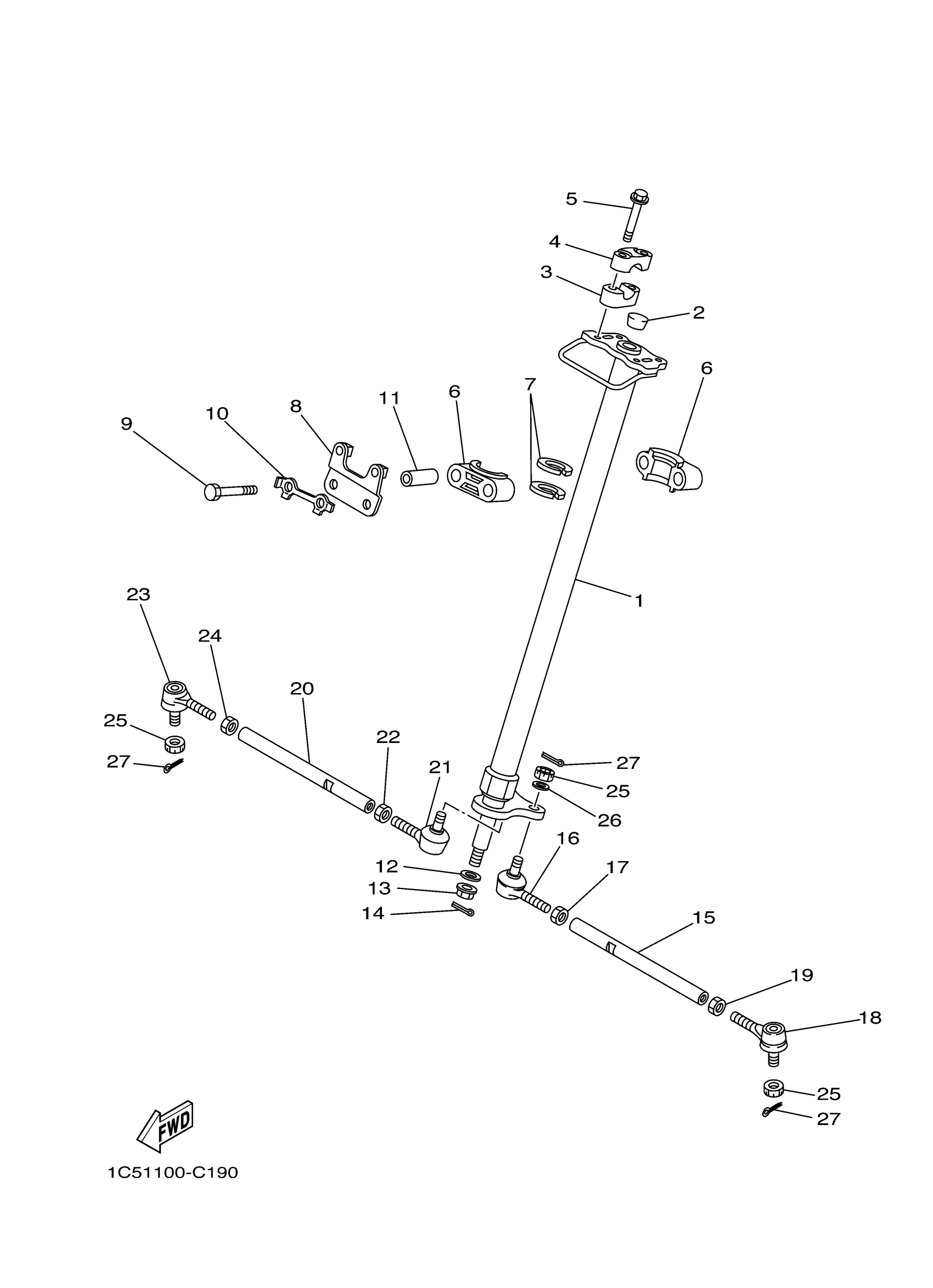
Yamaha YFM125GAL (GRIZZLY 125) 1C5U0 2011 STEERING Diagram
#
Description
Price
1
COLUMN, STEERING 2
1C5-23813-20-00
Unavailable
2
PLUG, TAPER(3FA)
90336-22056-00
Unavailable
3
HOLDER, HANDLE LOWER
2HR-23442-00-98
Unavailable
8
BRACKET, STEERING LOWER
3FA-23868-30-00
Unavailable
9
BOLT, HEXAGON
97017-08060-00
Unavailable
15
ROD, TIE
3FA-23831-10-00
Unavailable
16
JOINT, UNIVERSAL 1
1UY-23841-01-00
Unavailable
17
NUT (682)
95380-10700-00
Unavailable
18
JOINT, UNIVERSAL 2
1UY-23845-01-00
Unavailable
19
NUT
90170-10010-00
Unavailable
20
ROD, TIE
3FA-23831-10-00
Unavailable
21
JOINT, UNIVERSAL 1
1UY-23841-01-00
Unavailable
22
NUT (682)
95380-10700-00
Unavailable
23
JOINT, UNIVERSAL 2
1UY-23845-01-00
Unavailable
24
NUT
90170-10010-00
Unavailable
25
NUT, CASTLE
90171-10001-00
Unavailable
26
WASHER, PLATE
92990-10600-00
Unavailable
