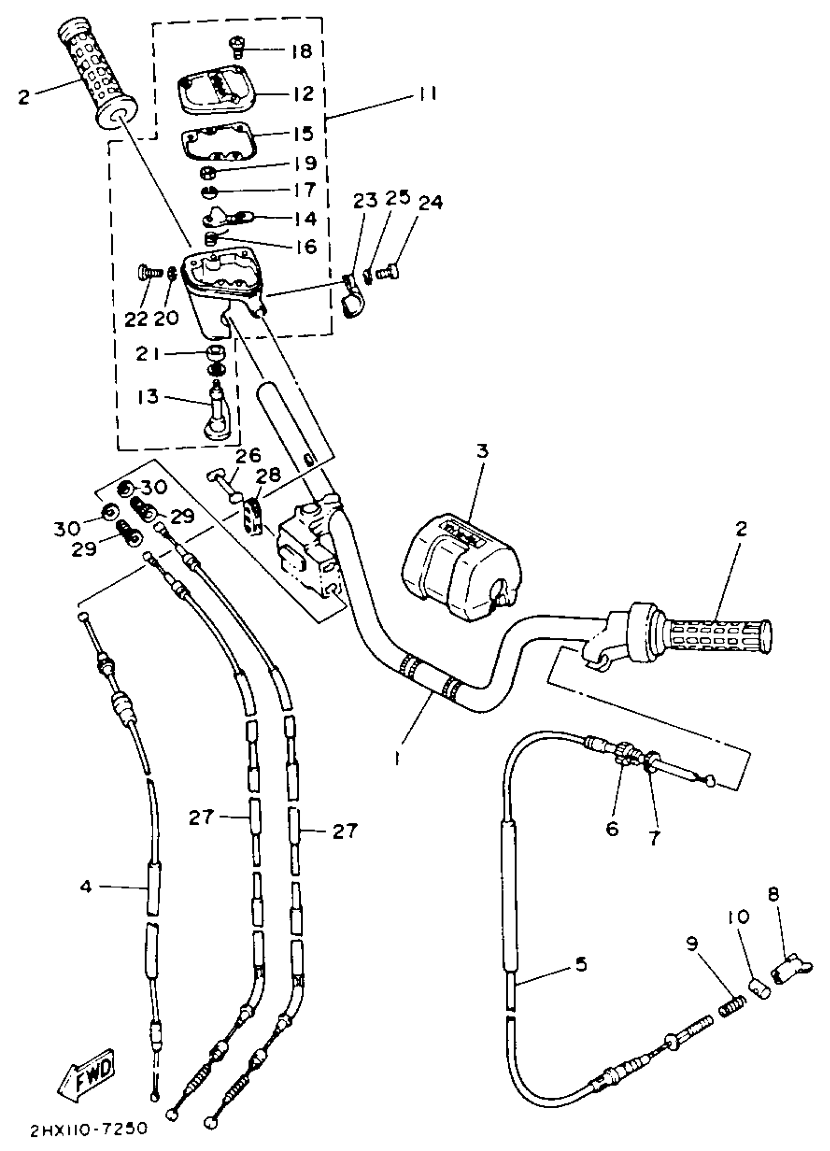
Yamaha YFM100U (CHAMP) 1988 HANDLEBAR - CABLE Diagram
#
Description
Price
1
HANDLEBAR
87A-23811-00-00
Unavailable
3
PROTECTOR, HANDLEBAR
55X-26124-00-00
Unavailable
4
CABLE, throttle 1
2HX-26311-00-00
Unavailable
5
CABLE, brake
2HX-26341-00-00
Unavailable
11
THROTTLE LEVER ASSY
2HX-26250-01-00
Unavailable
12
. CAP, GEAR
1NV-2628F-00-00
Unavailable
13
. LEVER, throttle
2HX-2625G-01-00
Unavailable
14
. ARM, throttle
55X-2625H-01-00
Unavailable
15
. GASKET
1NV-2628G-00-00
Unavailable
16
. SPRING, TORSION
90508-10597-00
Unavailable
17
YBS67-5 WASHER, SPRING
92990-05100-00
Unavailable
18
SCREW, PAN
98517-05012-00
Unavailable
19
NUT, HEXAGON (663)
95380-05600-00
Unavailable
20
NUT, HEXAGON SMALL
95317-05700-00
Unavailable
21
OIL SEAL,SDO-TYPE
93109-10023-00
Unavailable
22
SCREW, PAN HEAD
98517-05030-00
Unavailable
23
H0LDER, LEVER L0WER 1
38V-82913-00-00
Unavailable
24
SCREW, PAN HEAD(4MY)
98507-05018-00
Unavailable
25
WASHER(3SX)
92907-05100-00
Unavailable
26
CABLE, brake 4
2FJ-26373-00-00
Unavailable
27
CABLE, brake
2HX-26361-00-00
Unavailable
28
JOINT, CABLE
52H-26347-01-00
Unavailable
29
BOLT(2FJ)
90123-08106-00
Unavailable
30
NUT
90179-08537-00
Unavailable
