Partiron

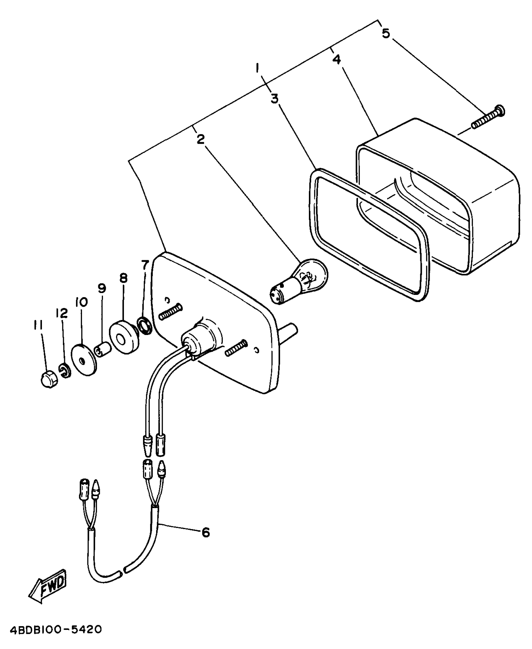
Yamaha YFB250UJ (TIMBERWOLF 2WD) 4BDJ 1997 TAILLIGHT 1 Diagram

#

Description
Price

1

TAILLIGHT UNIT ASSY

52H-84710-00-00

Unavailable

2

BULB (12V-7.5W)

3GD-84714-00-XX

Unavailable

3

GASKET, TAIL LENS

1K8-84523-00-00

Unavailable

4

LENS, TAILLIGHT

21V-84721-00-00

$33.99

5

YBS83-430 SCREW,PANH. TAPPING

97780-40130-00

$8.49

6

WIRE, LEAD

59V-82541-00-00

Unavailable

7

WASHER, PLATE (462)

90202-14077-00

$4.29

8

GROMMET (462)

90480-14088-00

$5.60

9

SPACER

90560-07007-00

$9.49

10

WASHER PLATE 248217570000

90201-06074-00

$9.49

11

NUT(4MY)

95307-06800-00

$3.82

12

WASHER, SPRING

92907-06100-00

$4.25