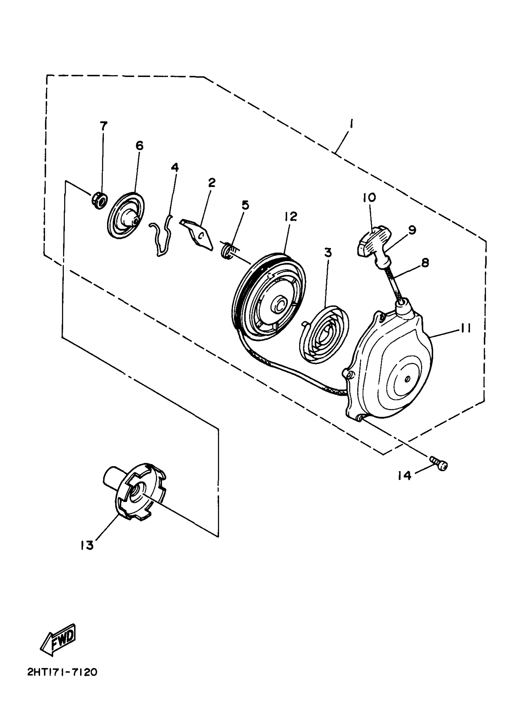
Yamaha YFB250UJ (TIMBERWOLF 2WD) 4BDJ 1997 STARTER Diagram
#
Description
Price
1
STARTER ASSY
24W-15710-00-00
Unavailable
11
. CASE, STARTER
24W-15711-00-00
Unavailable
13
PULLEY, STARTER
21V-15723-00-00
Unavailable
