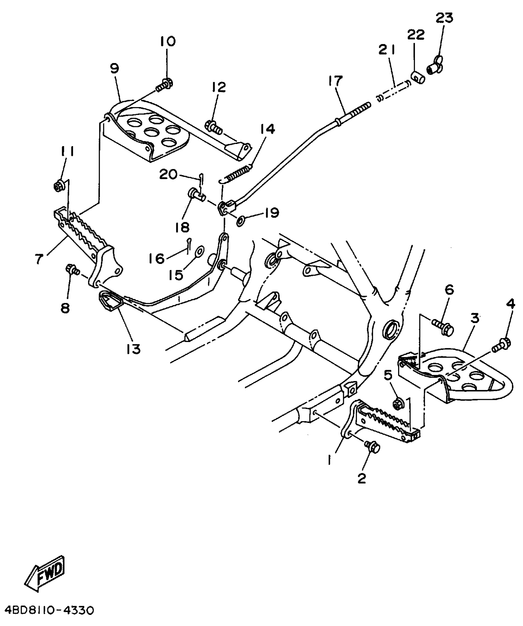
Yamaha YFB250G (TIMBERWOLF 2WD) 1995 STAND - FOOTREST Diagram
#
Description
Price
1
FOOTREST 1
3JM-27411-01-00
Unavailable
3
PLATE 1
4BD-27445-10-00
Unavailable
7
FOOTREST 2
4BD-27421-01-00
Unavailable
9
PLATE 2
4BD-27446-10-00
Unavailable
13
PEDAL, BRAKE
4BD-27211-10-00
Unavailable
16
PIN. COTTER
91490-40030-00
Unavailable
17
ROD, BRAKE
4BD-27231-00-00
Unavailable
18
PIN, CLEVIS (3X3)
90240-06076-00
Unavailable
19
WASHER(6TA)
92907-06200-00
Unavailable
20
PIN, COTTER
91490-20025-00
Unavailable
21
SPRING, (180-27236-00)
90501-10245-00
Unavailable
22
PIN 1562723700
90249-12008-00
Unavailable
23
NUT, AJUSTING
20E-26343-00-00
Unavailable
