Yamaha YFB250G_MNH (TIMBERWOLF 2WD) 4BDB 1995 HANDLE SWITCH - LEVER Diagram
#
Description
Price
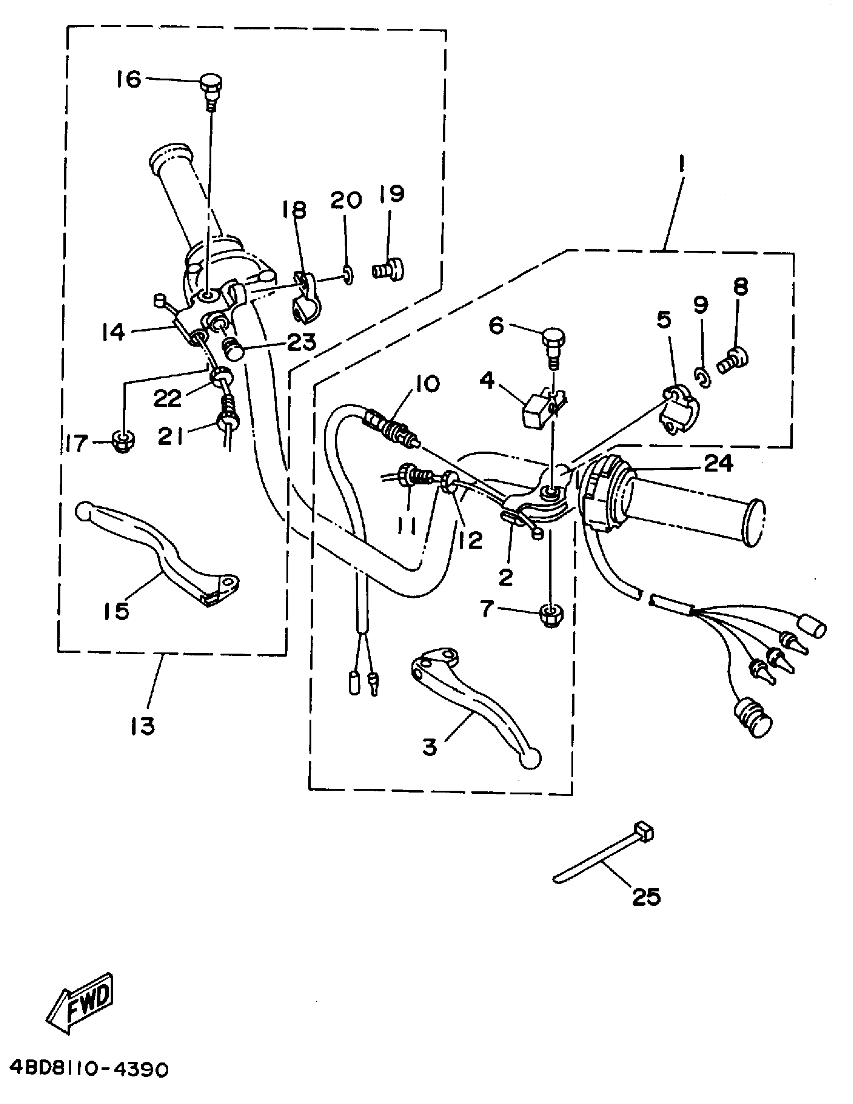
1
LEVER HOLDER ASSY (LEFT)
4BD-82910-02-00
Unavailable
4
LEVER, LOCK
1YW-83965-00-00
Unavailable
5
HOLDER, LEVER LOWER
4V4-82913-00-00
Unavailable
13
LEVER HOLDER ASSY 2
4BD-82920-01-00
Unavailable
14
HOLDER, LEVER 2
3JN-82921-00-00
Unavailable
16
BOLT (2YK1)
90109-06799-00
Unavailable
18
HOLDER, LEVER LOWER 1
2XJ-82913-00-00
Unavailable
19
BOLT, HEXAGON
97017-06025-00
Unavailable
20
WASHER, SPRING
92907-06100-00
Unavailable
23
PLUG(2GU)
90338-12192-00
Unavailable
24
SWITCH, HANDLE 3
4BD-83973-19-00
Unavailable
25
BAND, SWITCH CORD
437-83936-01-00
Unavailable
