Yamaha YFB250FWM (TIMBERWOLF 4WD) 4KDL 2000 STARTER Diagram
#
Description
Price
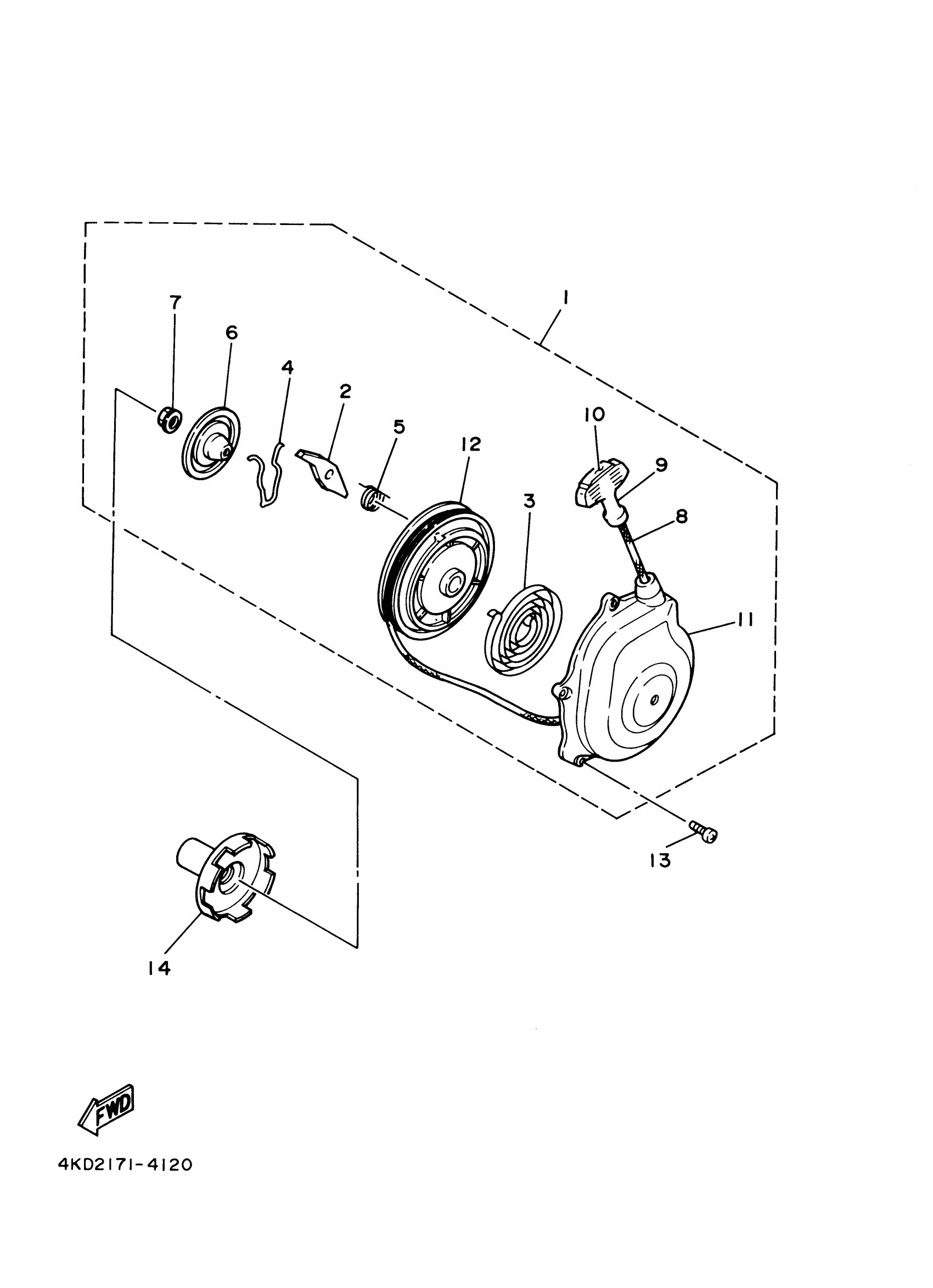
1
STARTER ASSY
24W-15710-00-00
Unavailable
11
. CASE, STARTER
24W-15711-00-00
Unavailable
14
PULLEY, STARTER
21V-15723-00-00
Unavailable
