Yamaha YFB250FWM (TIMBERWOLF 4WD) 4KDL 2000 DRIVE SHAFT Diagram
#
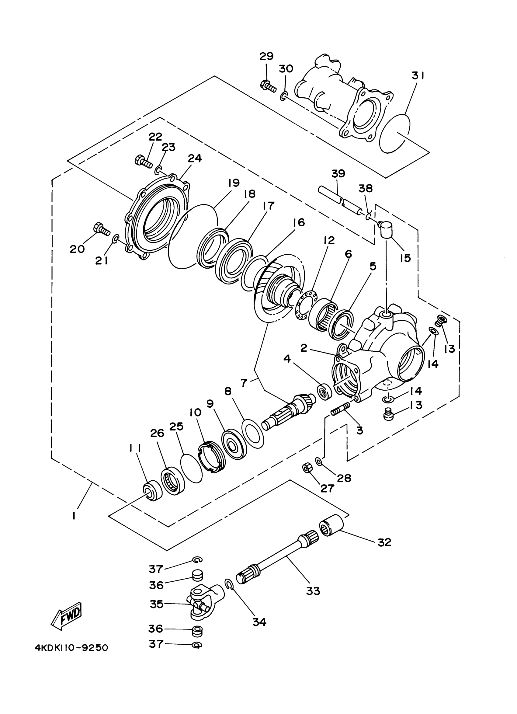
1
REAR AXLE GEAR CASE ASSY
4BD-46101-10-00
Unavailable
2
. HOUSING, DRIVE SHAFT
2VY-46151-01-00
Unavailable
4
. BEARING ASSY
24W-46102-00-00
Unavailable
9
BEARING(3RR)
93306-30560-00
Unavailable
11
COLLAR (24W)
90387-255H9-00
Unavailable
12
WASHER, THRUST
24W-46118-00-12
Unavailable
12
WASHER, THRUST
24W-46118-00-16
Unavailable
12
WASHER, THRUST
24W-46118-00-18
Unavailable
12
WASHER, THRUST
24W-46118-00-20
Unavailable
13
PLUG, STRAIGHT SCREW
90340-14002-00
Unavailable
14
GASKET
214-11198-01-00
Unavailable
15
BREATHER
2H7-17591-01-00
Unavailable
16
. SHIM, RING GEAR (025T)
24W-46117-00-25
Unavailable
16
. SHIM, RING GEAR (030T)
24W-46117-00-30
Unavailable
16
. SHIM, RING GEAR (040T)
24W-46117-00-40
Unavailable
16
. SHIM, RING GEAR (050T)
24W-46117-00-50
Unavailable
17
BEARING, CYLINDRICAL (22U)
93316-01301-00
Unavailable
18
OIL SEAL (22U)
93102-65277-00
Unavailable
19
O-RING (1J7)
93211-44348-00
Unavailable
20
BOLT, HEXAGON
97017-08025-00
Unavailable
21
WASHER(6TA)
92907-08600-00
Unavailable
22
BOLT(6TD)
97017-10025-00
Unavailable
23
WASHER(6TA)
92907-10600-00
Unavailable
24
. HOUSING, BEARING
3GC-46152-00-00
Unavailable
25
O-RING (11H)
93210-59531-00
Unavailable
26
OIL SEAL (4H7)
93101-38098-00
Unavailable
27
NUT(55X)
90179-08491-00
Unavailable
28
WASHER, PLATE(3XP)
90201-086P8-00
Unavailable
29
BOLT, FLANGE(3GD)
95817-10025-00
Unavailable
30
WASHER, PLATE(47X)
90201-101J1-00
Unavailable
31
O-RING (173)
93210-85075-00
Unavailable
32
COUPLING, GEAR
2HR-46123-00-00
Unavailable
33
SHAFT, DRIVE
4BD-46172-00-00
Unavailable
34
CIRCLIP (537)
93410-22039-00
Unavailable
35
CROSS JOINT COMP.
4X7-46180-00-00
Unavailable
36
BEARING(2HR)
93399-99926-00
Unavailable
37
CIRCLIP (4X7)
93440-20088-00
Unavailable
38
CLIP (1J7)
90467-07029-00
Unavailable
39
HOSE (L1050)
90445-072G8-00
Unavailable
