Partiron

Yamaha YFB250FWK (TIMBERWOLF 4WD) 4KDF 1998 SEAT Diagram

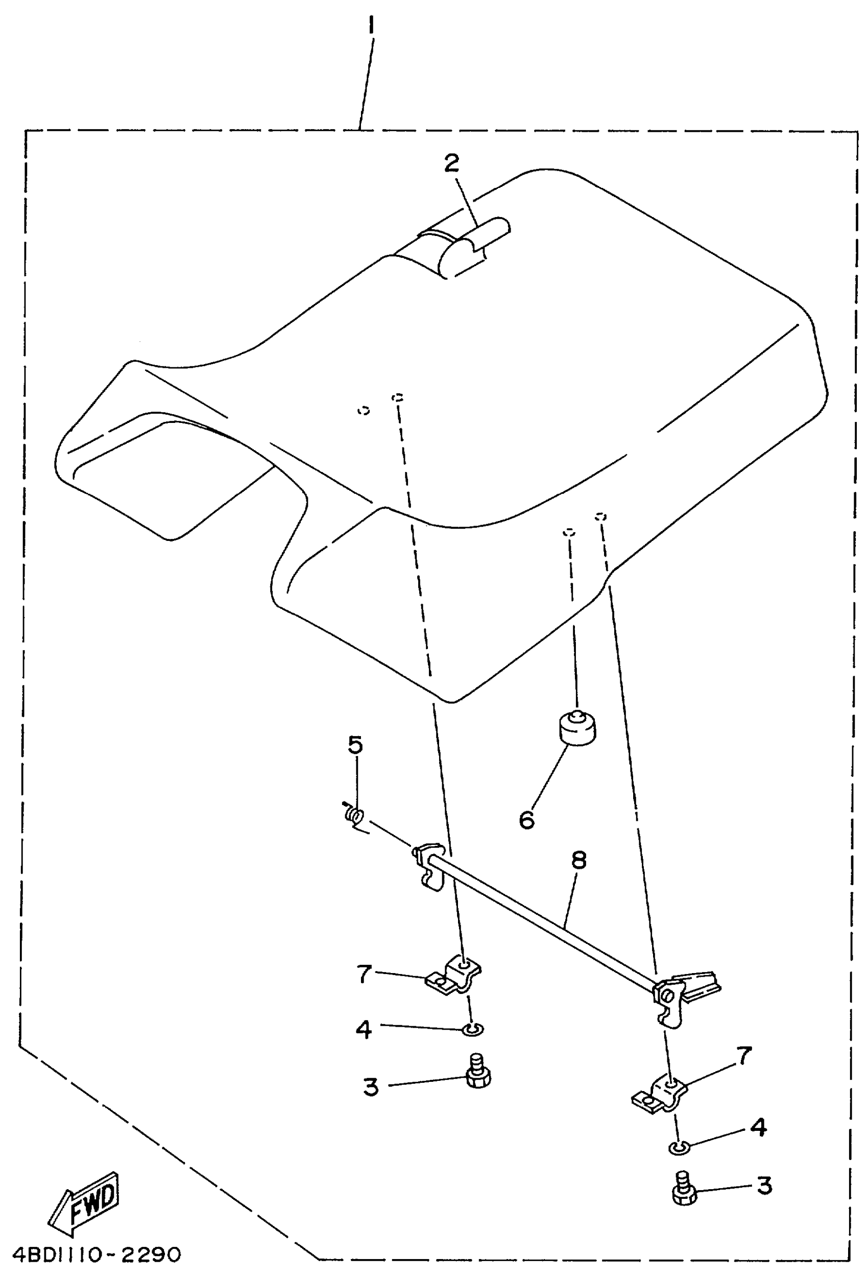
#

Description
Price

1

SINGLE SEAT ASSEMBLY

4BD-24710-40-00

Unavailable

2

. COVER, SEAT

4BD-24731-70-00

Unavailable

3

BOLT, HEXAGON

97017-06016-00

$8.49

4

WASHER, SPRING

92907-06100-00

$4.25

5

SPRING, TORSION (21V)

90508-23567-00

$8.49

6

STOPPER, MAIN STAND

371-27114-00-00

$7.99

7

. BRACKET, SEAT LEVER

59V-24775-00-00

Unavailable

8

LEVER,SEAT

4BD-24776-01-00

Unavailable