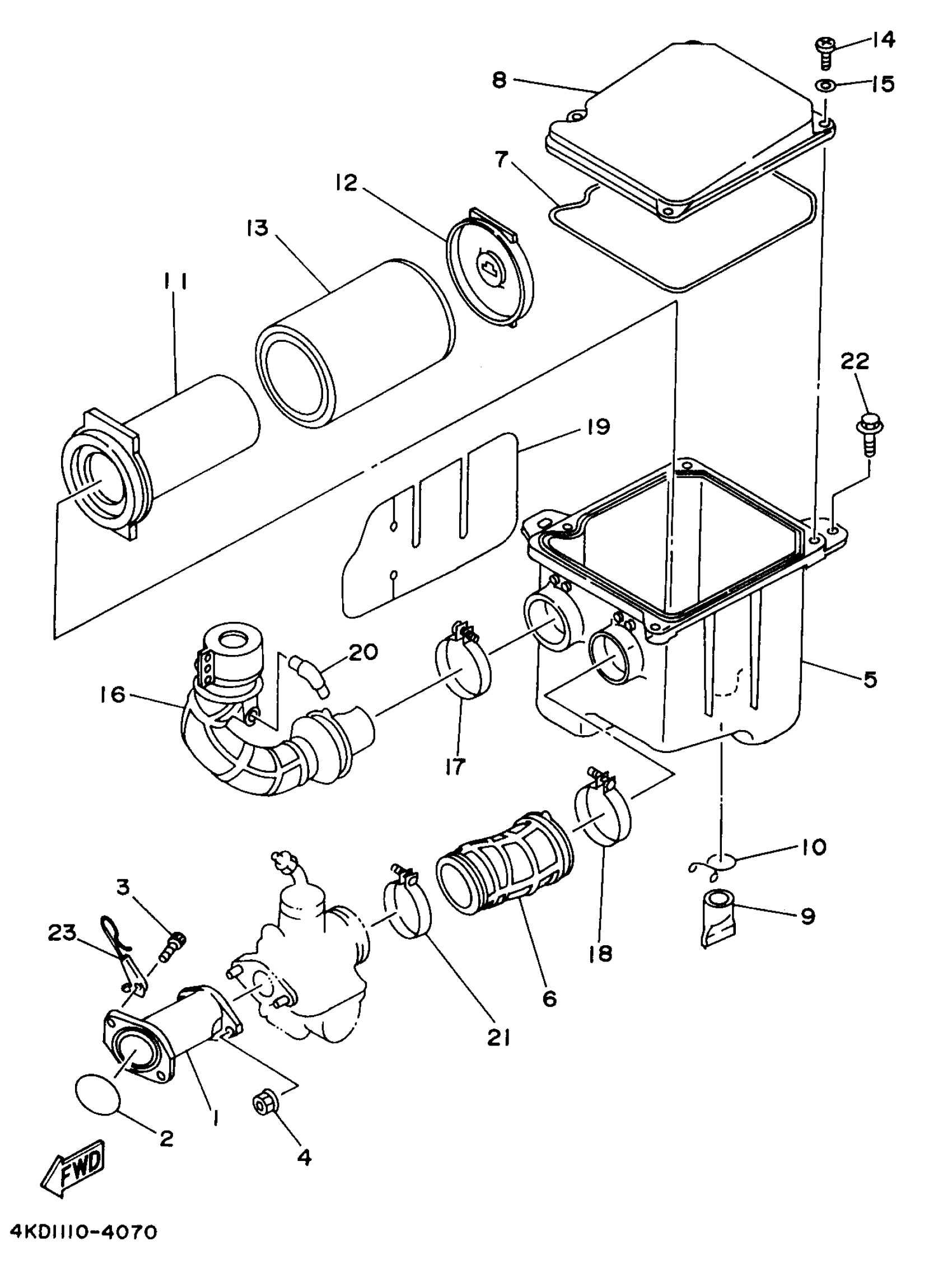
Yamaha YFB250FWK (TIMBERWOLF 4WD) 4KDF 1998 INTAKE Diagram
#
Description
Price
3
BOLT,SOCKET
91317-06020-00
Unavailable
5
CASE,AIR CLEANER
3GH-14411-01-00
Unavailable
16
DUCT
4BD-14437-00-00
Unavailable
17
HOSE CLAMP ASSY
90450-58002-00
Unavailable
18
HOSE CLAMP ASSY
90450-56001-00
Unavailable
19
PROTECTOR
4BD-1442F-00-00
Unavailable
20
PIPE
31A-14419-00-00
Unavailable
21
HOSE CLAMP ASSY(10F)
90450-45075-00
Unavailable
22
BOLT, WITH WASHER (30X)
90119-06096-00
Unavailable
23
GUIDE
4BD-2631F-00-00
Unavailable
