Yamaha YFB250FWJ_MNH (TIMBERWOLF 4WD) 4KDB 1997 CARBURETOR Diagram
#
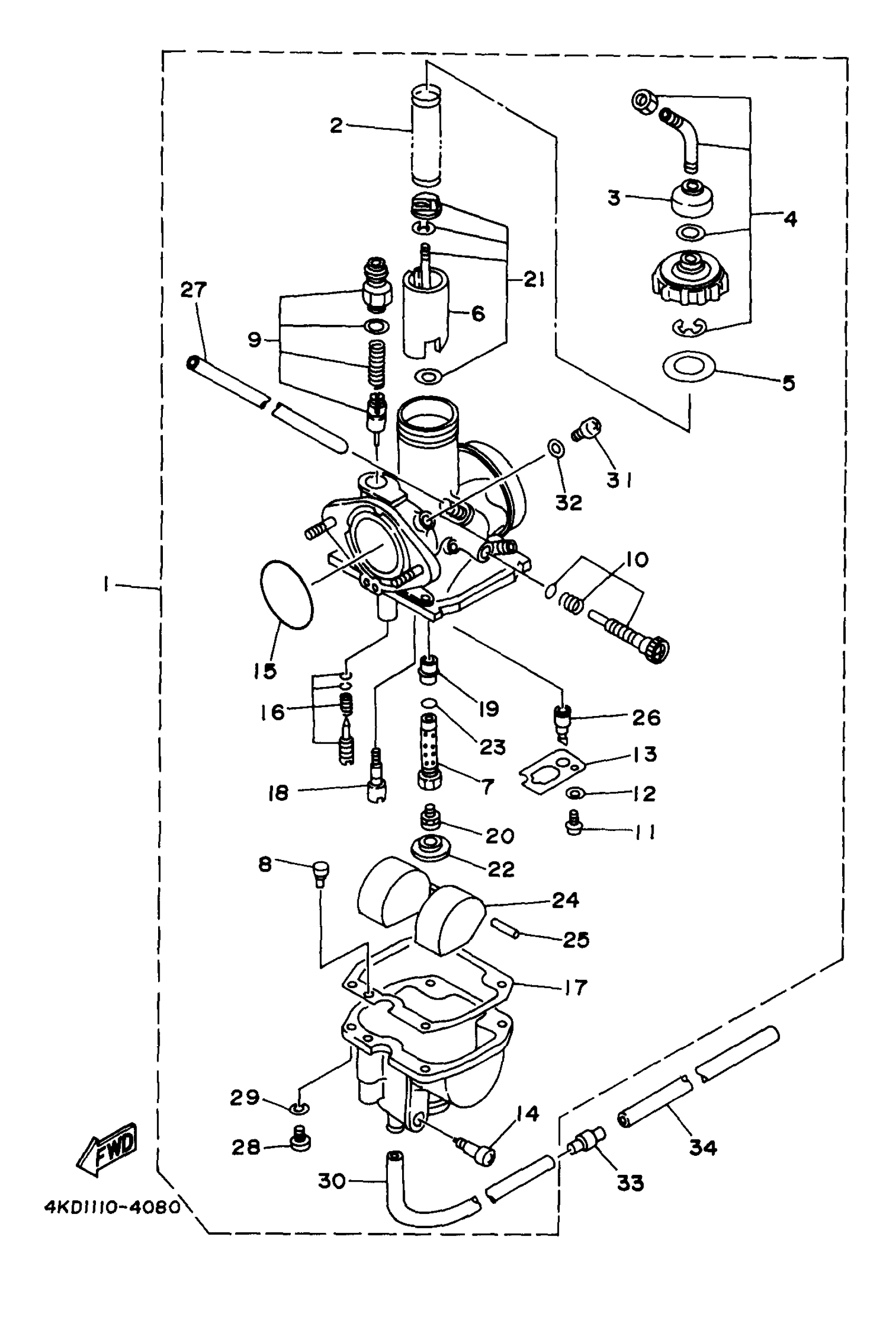
1
CARBURETOR ASSY 1
4KD-14101-02-00
Unavailable
2
SPRING, THROTTLE VALVE
4GA-14131-00-00
Unavailable
4
. CABLE ADJUST SCREW SET
29U-14106-00-00
Unavailable
5
GASKET
4U5-14126-00-00
Unavailable
6
. VALVE, THROTTLE 1
3GH-14112-35-00
Unavailable
7
. JET, HOLDER
21V-14148-00-00
Unavailable
8
. JET, POWER (50)
18M-1414B-10-00
Unavailable
13
. PLATE
59V-14146-00-00
Unavailable
15
O-RING
29U-14147-00-00
Unavailable
16
PILOT SCREW SET
21V-14105-00-00
Unavailable
17
GASKET, FLOAT CHAMBER
24W-14184-00-00
Unavailable
18
JET, PILOT (# 20)
22F-14142-20-00
Unavailable
19
. NOZZLE, MAIN
21V-14141-34-00
Unavailable
20
. JET, MAIN ( 85)
620-14231-17-00
Unavailable
21
NEEDLE SET
3GH-1490J-00-00
Unavailable
22
WASHER, MAIN JET
5V7-14153-00-00
Unavailable
23
O-RING
583-14561-00-00
Unavailable
24
FLOAT
21V-14185-00-00
Unavailable
25
PIN, FLOAT
127-14186-00-00
Unavailable
26
NEEDLE VALVE ASSY
5HH-14190-18-00
Unavailable
27
. PIPE
4KD-14197-10-00
Unavailable
28
SCREW, PAN HEAD(GA5)
98580-04014-00
Unavailable
29
YBS67-4 WASHER, SPRING
92990-04100-00
Unavailable
30
PIPE
26H-14197-01-00
Unavailable
31
SCREW, PAN HEAD(6A3)
97885-06008-00
Unavailable
32
. WASHER
59V-14962-00-00
Unavailable
33
PIPE 2,OVERFLOW
24W-14193-00-00
Unavailable
34
TUBE, FLEXIBLE(3NV)
91A21-07020-00
Unavailable
