Yamaha YFB250FWH_MNH 1996 EXHAUST Diagram
#
Description
Price
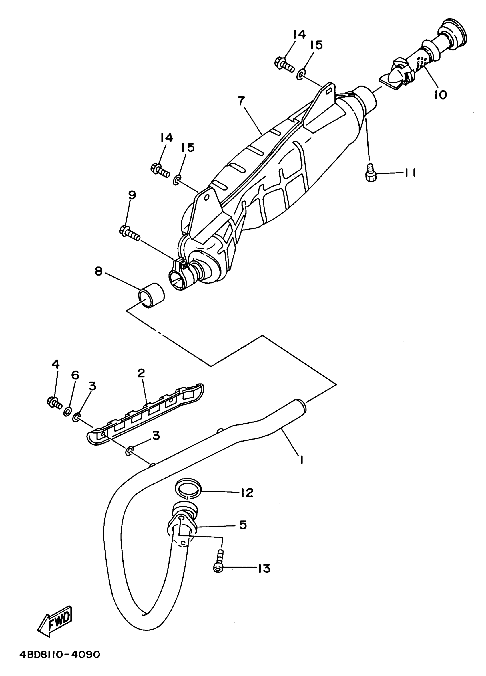
1
PIPE, EXHAUST 1
4KD-14611-00-00
Unavailable
2
PROTECTOR, EXHAUST PIPE
3Y1-14628-00-00
Unavailable
7
MUFFLER 1
4BD-14711-01-00
Unavailable
10
PIPE, OUTLET
21V-14752-00-00
Unavailable
13
BOLT,SOCKET
91317-06020-00
Unavailable
