Partiron

Yamaha YFB250FWF_MNH (TIMBERWOLF 4WD) 4KD1 1994 REAR SUSPENSION Diagram

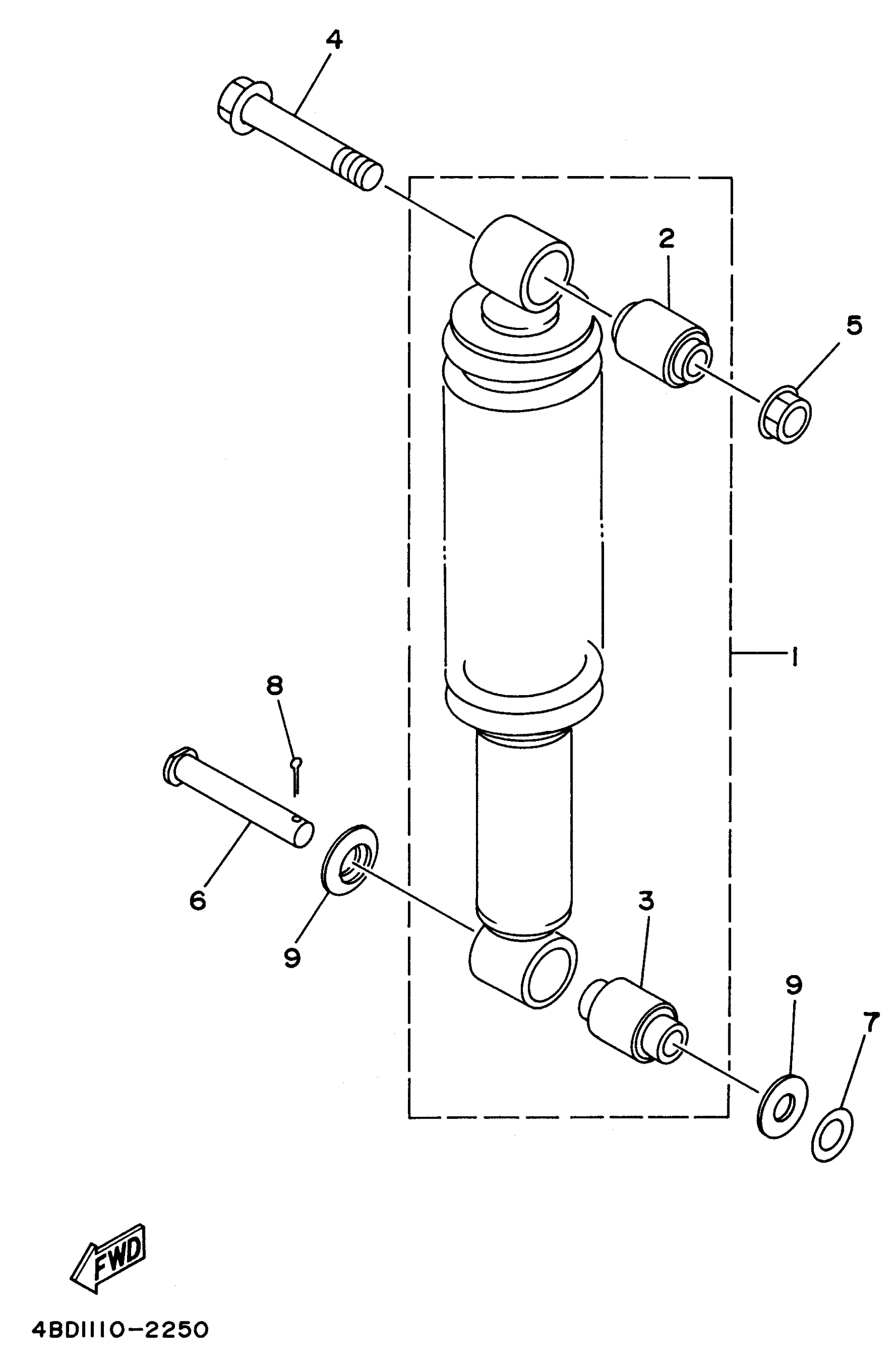
#

Description
Price

1

SHK/ABS ASSY, REAR (YB)

4BD-22210-20-33

Unavailable

2

. BUSH, REAR SHOCK ABSORBER

24R-22216-00-00

Unavailable

3

. BUSH, SHOCK ABSORBER LOWER

2VA-22226-00-00

Unavailable

4

BOLT, WASHER BASED(1YW)

90105-12425-00

$9.49

5

NUT, SELF LOCKING (1M1)

90185-12072-00

$9.49

6

PIN, CLEVIS (10V)

90240-12092-00

$10.49

7

WASHER, PLATE(55K)

90201-127J6-00

$8.49

8

CLIP

90468-20196-00

Unavailable

9

COVER, THRUST

1W1-22128-00-00

$19.49