Partiron

Yamaha YFB250E (TIMBERWOLF 2WD) 1993 SIDE COVER Diagram

#

Description
Price

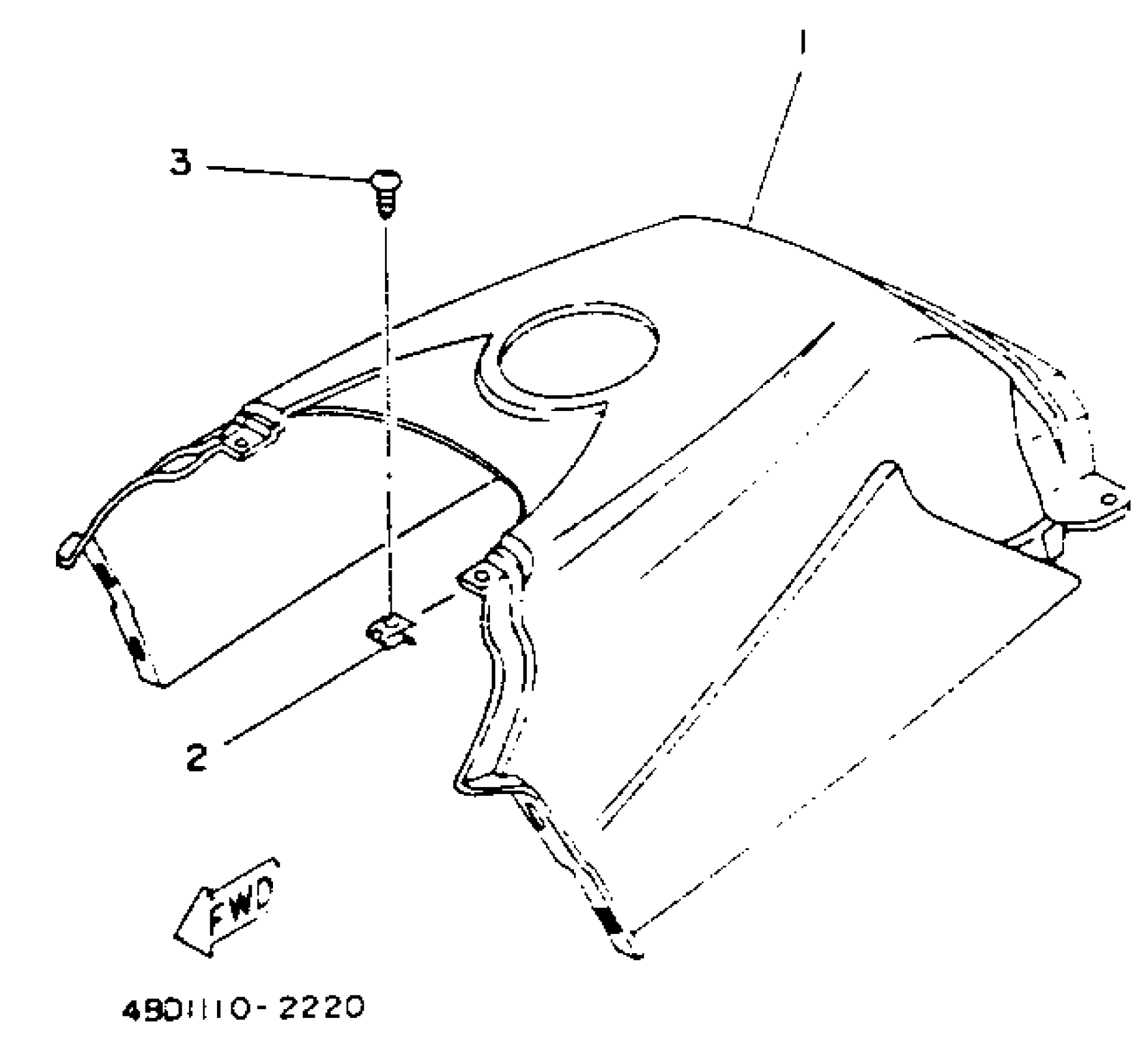
1

COVER, TOP

4BD-2171A-20-00

Unavailable

1

COVER, TOP

4BD-2171A-30-00

Unavailable

2

NUT, SPRING(1YT)

90183-05042-00

$5.60

3

SCREW, TRUSS TAP.

97707-50012-00

$4.63