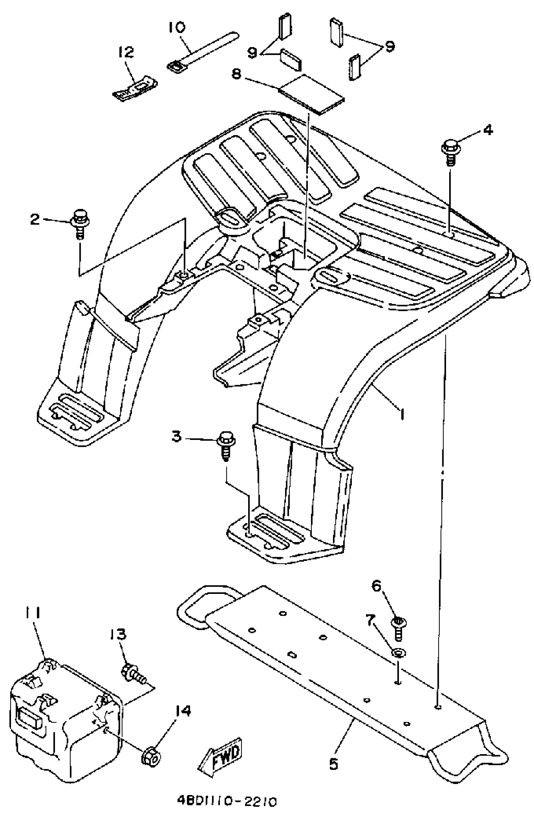
Yamaha YFB250D (TIMBERWOLF 2WD) 1992 REAR FENDER Diagram
#
Description
Price
1
FENDER, REAR (CYAN)
4BD-21611-01-00
Unavailable
1
FENDER, REAR
4BD-21611-10-00
Unavailable
5
STAY, FENDER 1
4BD-21613-00-00
Unavailable
8
DAMPER 2
4BD-21639-00-00
Unavailable
9
DAMPER
1YW-21638-00-00
Unavailable
11
BOX COMP.
4BD-2160A-00-00
Unavailable
