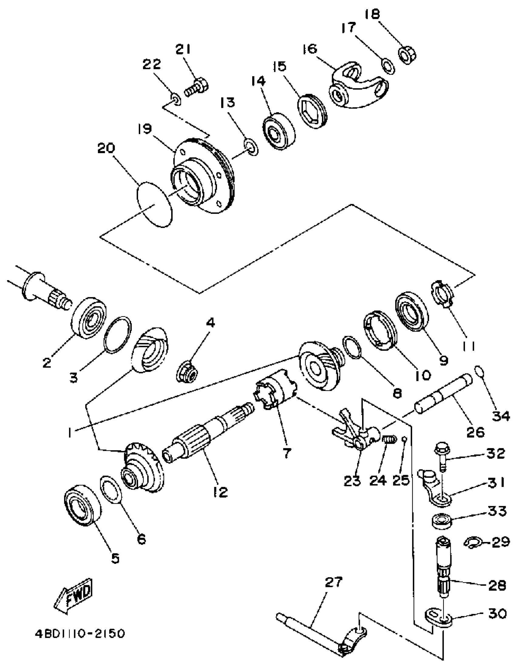
Yamaha YFB250D (TIMBERWOLF 2WD) 1992 MIDDLE DRIVE GEAR Diagram
#
1
PINION SET
52G-17530-00-00
Unavailable
3
SHIM, THRUST (0.2T)
24W-17537-30-00
Unavailable
3
SHIM, THRUST (0.3T)
24W-17537-40-00
Unavailable
4
NUT(3GC)
90179-16651-00
Unavailable
7
CLUTCH, DOG
52G-17285-00-00
Unavailable
8
SHIM (0.3T)
52G-17967-40-00
Unavailable
8
SHIM
52G-17967-50-00
Unavailable
9
BEARING(55X)
93306-07801-00
Unavailable
10
NUT(52G)
90179-55464-00
Unavailable
11
NUT(52G)
90179-28465-00
Unavailable
12
SHAFT, MIDDLE DRIVEN
1EV-17553-00-00
Unavailable
13
SHIM, (1.0T)
52G-17968-00-10
Unavailable
13
SHIM, (1.2T)
52G-17968-00-12
Unavailable
13
SHIM
52G-17968-40-00
Unavailable
13
SHIM, (1.6T)
52G-17968-00-16
Unavailable
13
SHIM
52G-17968-00-18
Unavailable
14
BEARING
93399-99917-00
Unavailable
15
NUT
90179-50467-00
Unavailable
16
YOKE, JOINT
4BD-17556-00-00
Unavailable
17
WASHER, PLATE
90201-12027-00
Unavailable
18
NUT(3EF)
90179-12657-00
Unavailable
19
HOUSING, BEARING
1EV-17551-00-00
Unavailable
20
O-RING (24W)
93210-56589-00
Unavailable
21
BOLT (682)
97013-08025-00
Unavailable
22
.. WASHER, PLATE
92990-08600-00
Unavailable
23
FORK, SHIFT 4
52G-18514-02-00
Unavailable
24
SPRING, COMPRESSION(52G)
90501-101A5-00
Unavailable
25
BALL
93501-04011-00
Unavailable
26
BAR, SHIFT FORK GUIDE
52G-18534-00-00
Unavailable
27
STOPPER SHAFT ASSY
3GC-1812A-00-00
Unavailable
28
SHAFT
3GC-18197-00-00
Unavailable
29
CIRCLIP(13H)
99009-14400-00
Unavailable
30
LEVER, SHIFT
3GC-18451-00-00
Unavailable
31
LEVER, COMP. 1
4BD-18190-00-00
Unavailable
32
BOLT, FLANGE
95817-06016-00
Unavailable
33
OIL SEAL (3Y1)
93102-14209-00
Unavailable
34
O-RING (1J7)
93210-09350-00
Unavailable
