Yamaha YFA1K (BREEZE) 3FAK 1998 STEERING HANDLE CABLE Diagram
#
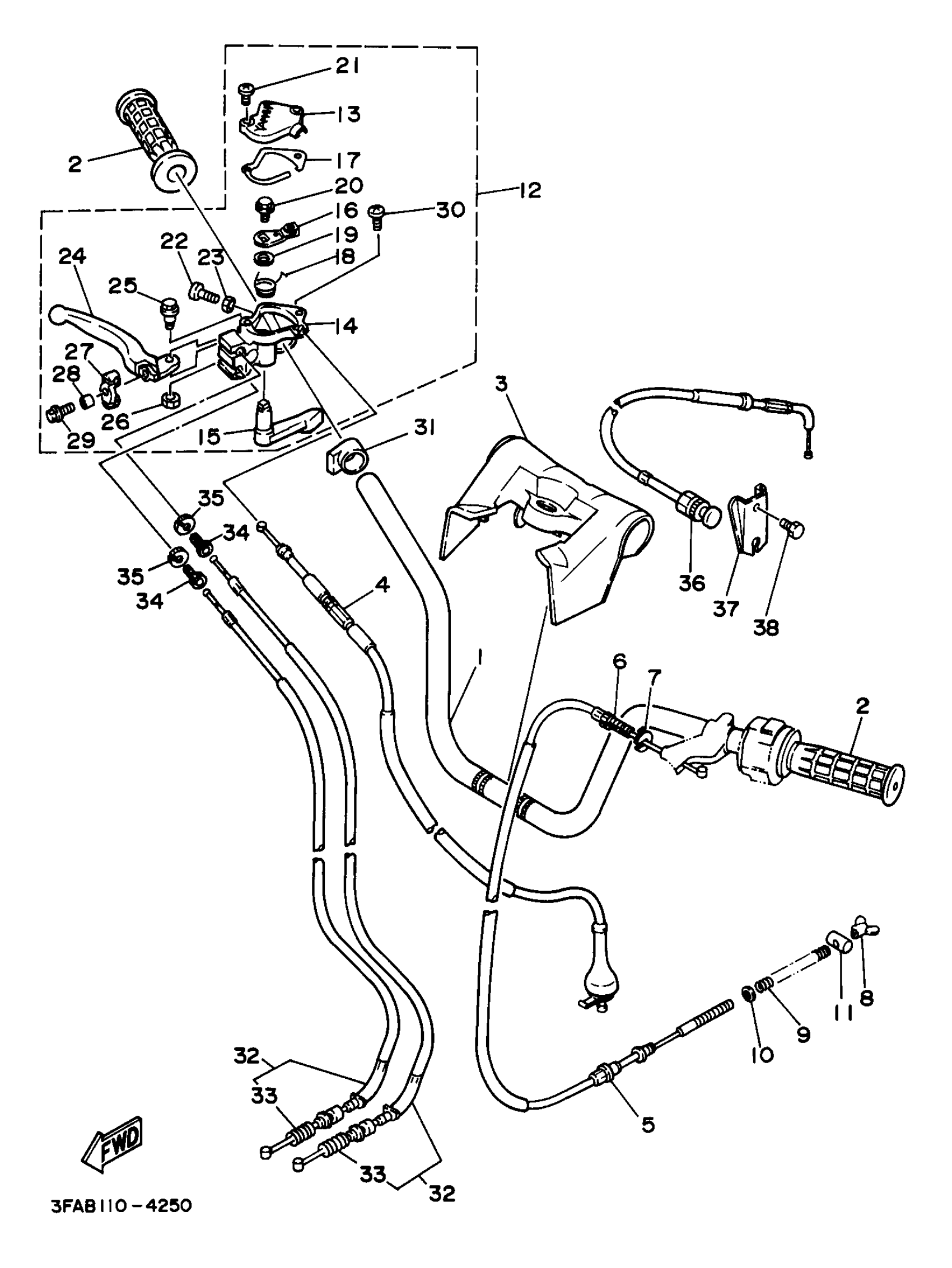
1
HANDLEBAR
3FA-26111-20-00
Unavailable
3
PROTECTOR,HANDLEBAR
3FA-26124-01-00
Unavailable
4
CABLE, THROTTLE 1
3FA-26311-01-00
Unavailable
10
WASHER, PLATE(2EX)
90202-08175-00
Unavailable
12
THROTTLE LEVER ASSY
3GB-26250-01-00
Unavailable
13
CAP, GEAR
3GB-2628F-00-00
Unavailable
14
BODY, THROTTLE
3GB-2625E-01-00
Unavailable
15
LEVER, THROTTLE
3GB-2625G-00-00
Unavailable
16
ARM, THROTTLE
3GB-2625H-00-00
Unavailable
17
GASKET
3GB-2628G-02-00
Unavailable
18
SPRING, TORSION(3GB)
90508-10775-00
Unavailable
19
WASHER, PLATE(3GB)
90201-145M4-00
Unavailable
20
BOLT, FLANGE
95817-08012-00
Unavailable
21
SCREW, PAN HEAD
98517-04016-00
Unavailable
22
SCREW, PAN HEAD
98517-05020-00
Unavailable
23
NUT, HEXAGON SMALL
95317-05700-00
Unavailable
24
LEVER 2
3GB-83922-00-00
Unavailable
25
BOLT(3GB)
90109-061F3-00
Unavailable
26
NUT, SELF-LOCKING
95617-06100-00
Unavailable
27
JOINT, CABLE
3GB-26347-00-00
Unavailable
28
COLLAR (3L6)
90387-06761-00
Unavailable
29
BOLT, FLANGE
95817-06016-00
Unavailable
30
SCREW, PAN
98517-06020-00
Unavailable
31
BOOT, HANDLEBAR
3FA-26147-00-00
Unavailable
32
CABLE, BRAKE
3GB-26361-04-00
Unavailable
33
SPRING (2N3)
90501-08511-00
Unavailable
34
BOLT(2FJ)
90123-08106-00
Unavailable
36
CABLE, STARTER 1
3FA-26331-02-00
Unavailable
37
HOLDER
1C5-26393-00-00
Unavailable
38
BOLT, FLANGE
95817-06010-00
Unavailable
