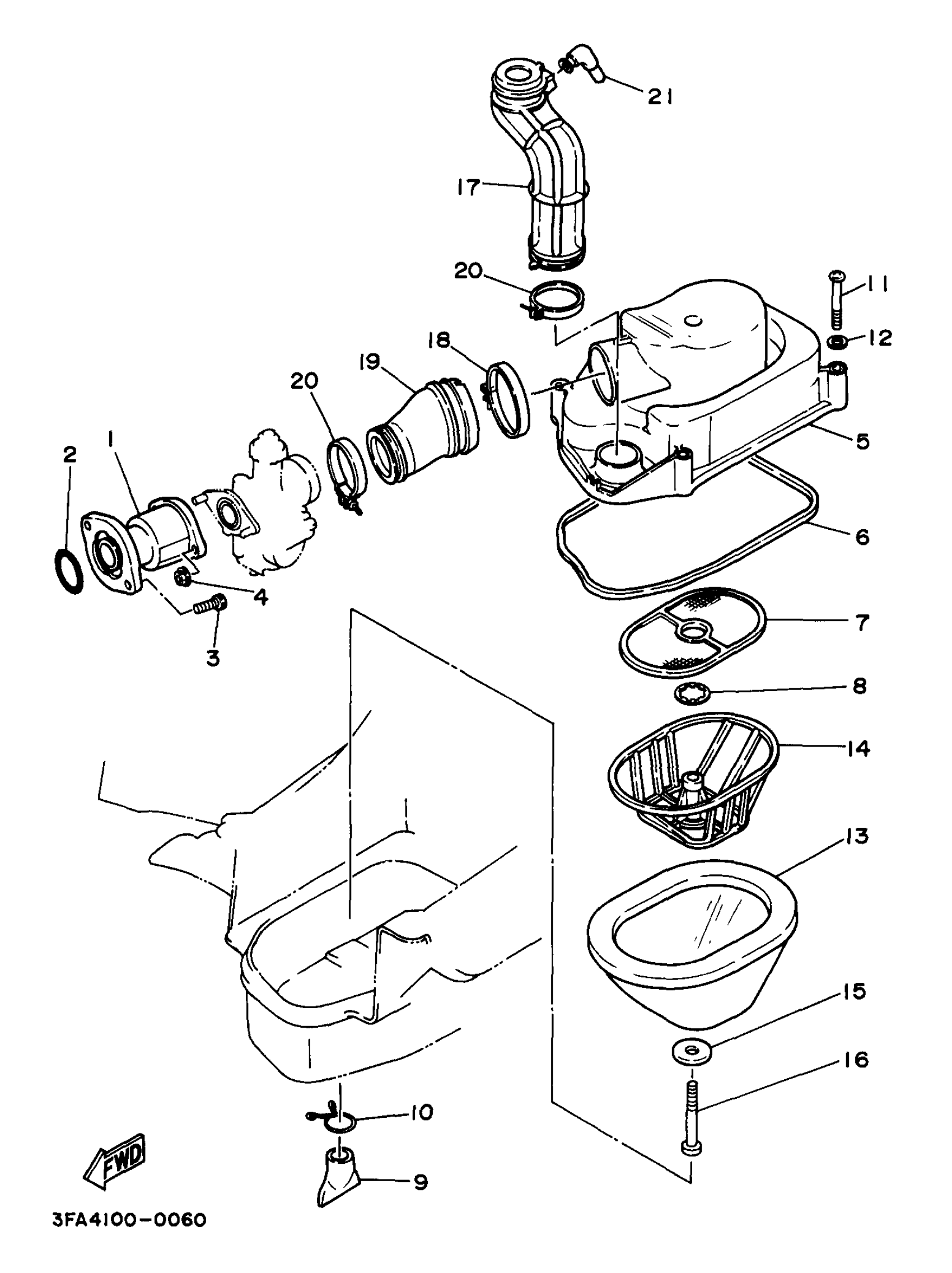
Yamaha YFA1J (BREEZE) 3FAH 1997 INTAKE Diagram
#
Description
Price
3
BOLT,SOCKET
91317-06020-00
Unavailable
5
CAP, CLEANER CASE 1
3FA-14412-02-00
Unavailable
8
WASHER (JA1)
90209-18309-00
Unavailable
16
SCREW, PAN
98507-06060-00
Unavailable
17
DUCT
3FA-14437-00-00
Unavailable
18
HOSE CLAMP ASSY
90450-58002-00
Unavailable
19
JOINT, AIR CLEANER 1
3FA-14453-00-00
Unavailable
20
HOSE CLAMP ASSY(10F)
90450-45075-00
Unavailable
21
PIPE
2NL-14419-00-00
Unavailable
