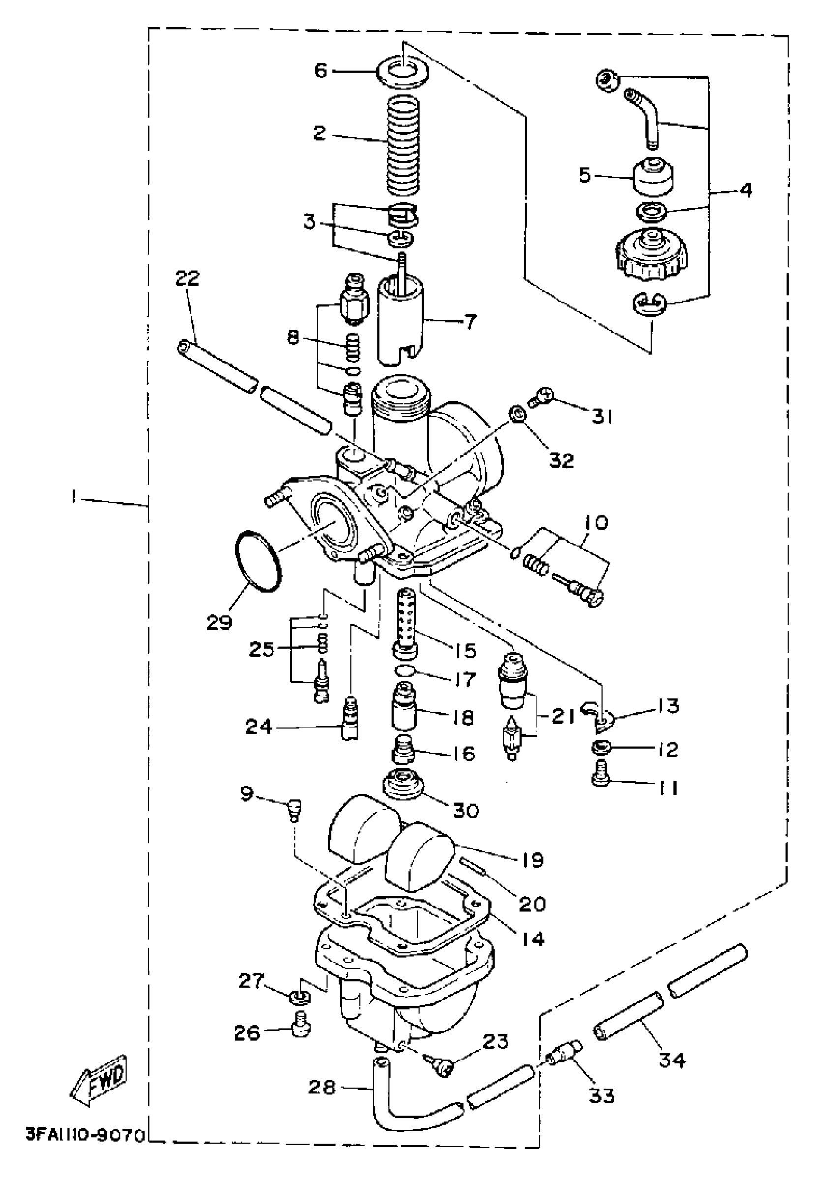
Yamaha YFA1D 1992 CARBURATOR Diagram
#
Description
Price
1
CARBURETOR ASSY 1
3FA-14101-02-00
Unavailable
2
. SPRING, THROTTLE VALVE
21V-14131-00-00
Unavailable
3
. NEEDLE SET
3FA-1490J-00-00
Unavailable
6
GASKET
4U5-14126-00-00
Unavailable
7
. VALVE, THROTTLE 1
3FA-14112-25-00
Unavailable
9
. JET, STARTER
18M-14144-09-00
Unavailable
16
. JET, MAIN (#825)
620-1423A-67-00
Unavailable
17
O-RING
583-14561-00-00
Unavailable
18
PIPE
3FA-14148-00-00
Unavailable
19
FLOAT
21V-14185-00-00
Unavailable
20
PIN, FLOAT
127-14186-00-00
Unavailable
21
NEEDLE VALVE ASSY
5HH-14190-18-00
Unavailable
22
PIPE
26H-14197-01-00
Unavailable
23
PLUG, DRAIN
12R-14191-00-00
Unavailable
24
JET, PILOT (# 12.5)
1NT-14142-12-00
Unavailable
25
PILOT SCREW SET
21V-14105-00-00
Unavailable
26
SCREW, PAN HEAD(GA5)
98580-04014-00
Unavailable
27
YBS67-4 WASHER, SPRING
92990-04100-00
Unavailable
28
HOSE (L1500)
90445-084J0-00
Unavailable
29
O-RING
24W-14147-00-00
Unavailable
30
WASHER, MAIN JET
5V7-14153-00-00
Unavailable
31
SCREW, PAN HEAD(6A3)
97885-06008-00
Unavailable
32
. WASHER
59V-14962-00-00
Unavailable
33
PIPE 2,OVERFLOW
24W-14193-00-00
Unavailable
34
TUBE, FLEXIBLE(3NV)
91A21-07020-00
Unavailable
