#
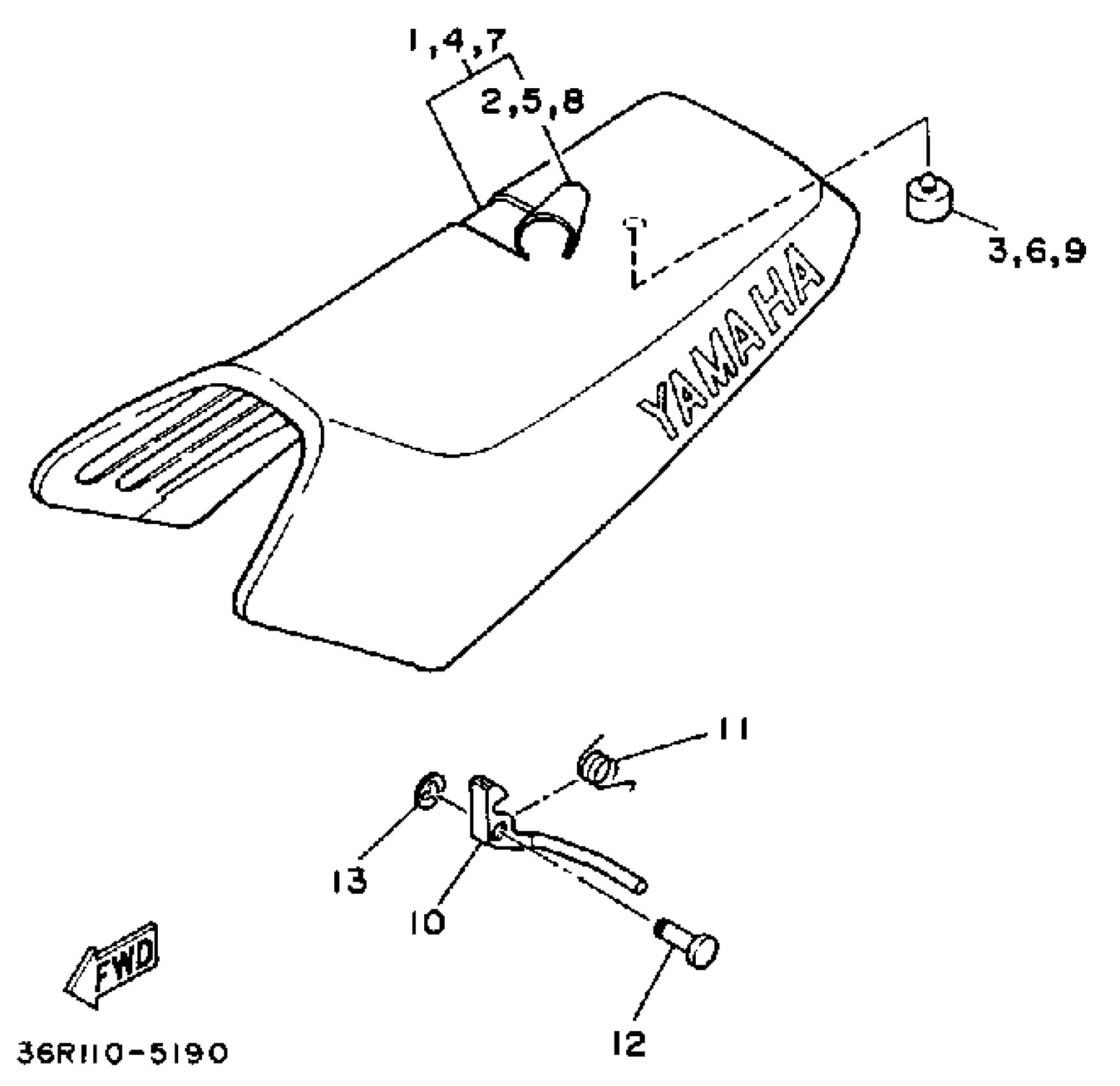
1
36R-W2471-00-00
Unavailable
2
36R-24711-00-00
Unavailable
4
36R-W2471-10-00
Unavailable
5
36R-24711-10-00
Unavailable
7
36R-W2471-20-00
Unavailable
8
36R-24711-20-00
Unavailable
10
36R-24776-00-00
Unavailable
11
90508-20646-00
Unavailable
12
90249-08146-00
Unavailable
Edit ride
