Yamaha YCS1C (YCS1C) 1968 MUFFLER Diagram
#
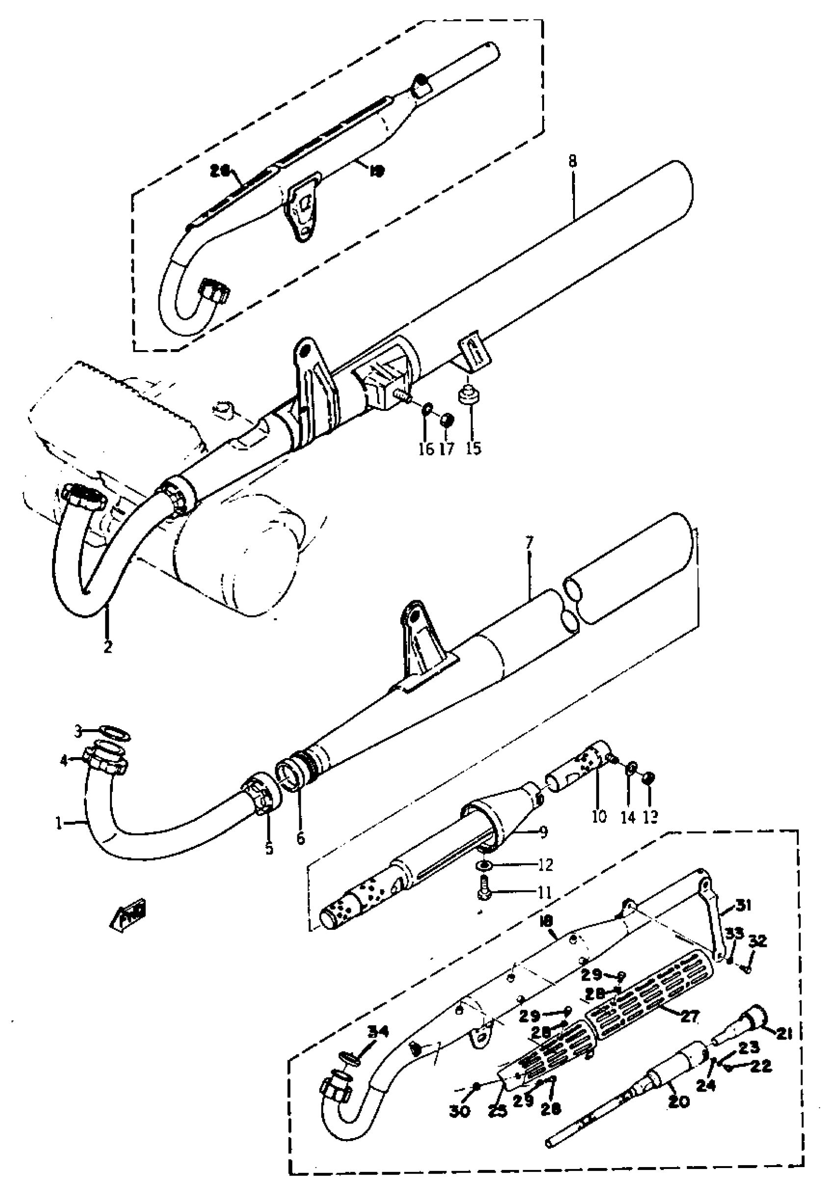
1
PIPE, EXHAUST L
(174-14611-00-00)
Unavailable
2
PIPE, EXHAUST R
(174-14621-00-00)
Unavailable
4
NUT, RING
(174-14612-01-00)
Unavailable
5
NUT, MUFFLER JOINT
132-14713-00-00
Unavailable
6
GASKET, MUFFLER
3NA-14714-01-00
Unavailable
7
MUFFLER ASSEMBLY L
(174-14710-21-00)
Unavailable
8
MUFFLER ASSEMBLY R
(174-14720-21-00)
Unavailable
9
ARRESTER, SPARK
(174-14786-20-00)
Unavailable
10
DIFFUSER
(122-14785-20-00)
Unavailable
12
WASHER, TOOTH
92990-05300-00
Unavailable
13
NUT, HEXAGON
95380-06600-00
Unavailable
16
YBS67-8 WASHER, SPRING
92990-08100-00
Unavailable
17
NUT(6L2)
95333-08600-00
Unavailable
18
EXHAUST PIPE ASSEMBLY L
(194-14610-30-00)
Unavailable
19
EXHAUST PIPE ASSEMBLY R
(194-14620-30-00)
Unavailable
20
SILENCER, EXHAUST
(178-14753-00-00)
Unavailable
21
PIPE, OUTLET
(178-14752-00-00)
Unavailable
22
BOLT(3JP)
97017-06010-00
Unavailable
23
WASHER, SPRING
92995-06100-00
Unavailable
25
PROTECTOR, MUFF 1
(194-14718-30-00)
Unavailable
26
PROTECTER, MUFF 3
(194-14738-30-00)
Unavailable
27
PROTECTER, MUFF 2
(194-14728-30-00)
Unavailable
28
SCREW, BIND(2TV)
98980-06008-00
Unavailable
29
WASHER, PLATE(3MB)
90202-05187-00
Unavailable
30
WASHER, PLATE(3MT)
90202-05188-00
Unavailable
31
STAY, MUFFLER 1
(178-14771-00-00)
Unavailable
32
BOLT, HEXAGON
97013-08016-00
Unavailable
33
YBS67-8 WASHER, SPRING
92990-08100-00
Unavailable
