Partiron

Yamaha XZ550RK (XZ550RK) 1983 STARTING MOTOR Diagram

#

Description
Price

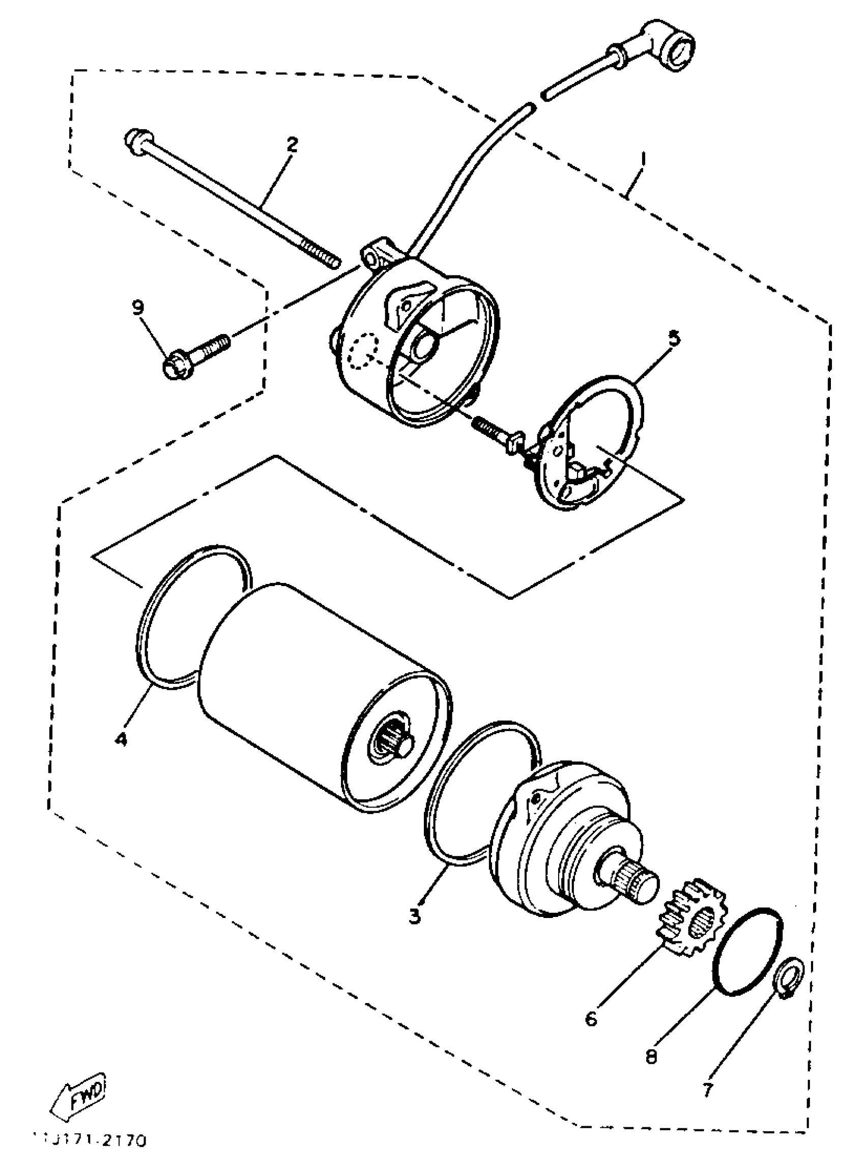
1

STARTING MOTOR ASS''Y

11H-81800-60-00

Unavailable

2

. BOLT

371-81826-20-00

Unavailable

3

GASKET

4G0-81844-00-00

Unavailable

4

GASKET

35C-81844-00-00

Unavailable

5

. BRUSH HOLDER ASS''Y

11H-81840-00-00

Unavailable

6

. GEAR, starting motor

[11-H1551-10-00

Unavailable

7

CIRCLIP(10Y)

99009-12400-00

$3.59

8

O-RING

4G0-81847-00-00

Unavailable

9

BOLT, FLANGE

95822-06025-00

$1.75