- Partiron
- OEM Parts
- Yamaha
- motorcycle
- 1982
- XZ550RJ (XZ550RJ) 1982
DRIVE SHAFT
Yamaha XZ550RJ (XZ550RJ) 1982 DRIVE SHAFT Diagram
#
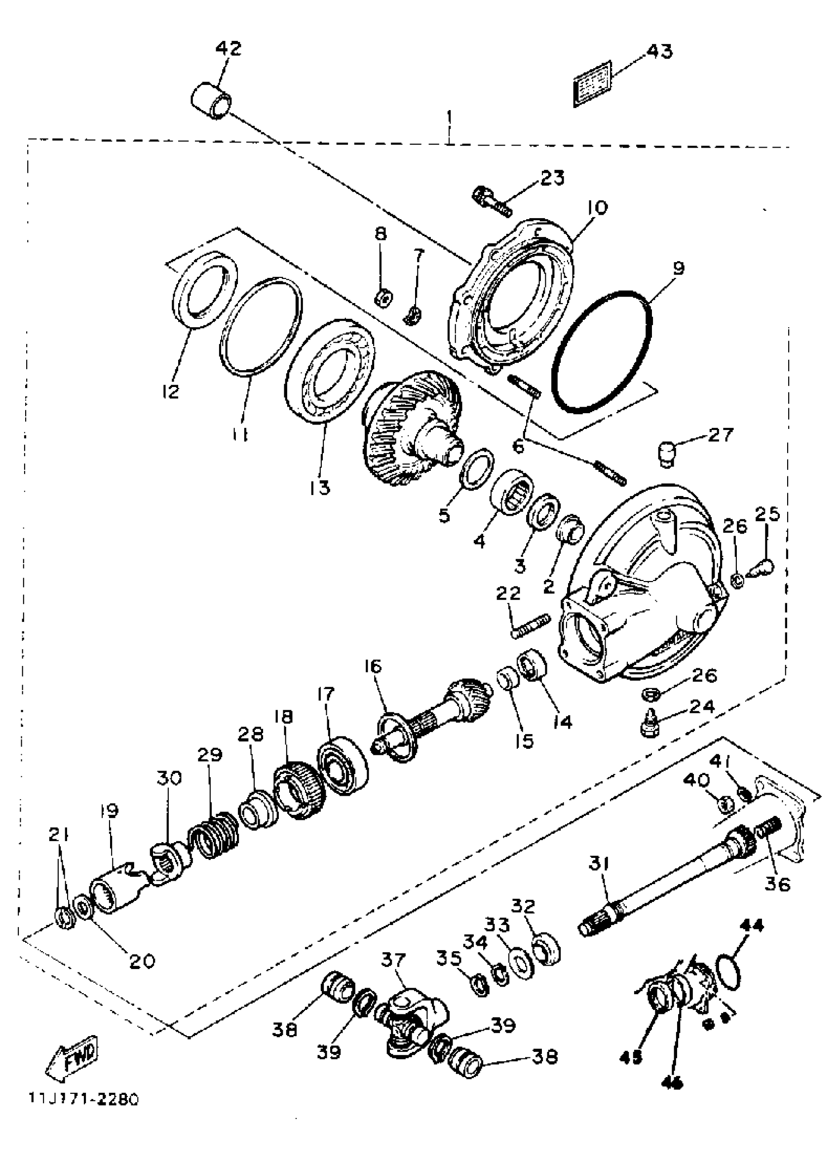
1
RR AXL GR CASE ASSEMBLY
(11H-46101-00-00)
Unavailable
4
BRG,CYL-CAL ROLLER 80G KY
93311-43729-00
Unavailable
5
. WASHER, THRUST
1J7-46118-Y0-18
Unavailable
5
. WASHER, THRUST
1J7-46118-Y0-19
Unavailable
5
. WASHER, THRUST
1J7-46118-Y0-20
Unavailable
5
. WASHER, THRUST
1J7-46118-Y0-21
Unavailable
5
. WASHER, THRUST
4H7-46118-00-14
Unavailable
5
. WASHER, THRUST
4H7-46118-00-15
Unavailable
5
. WASHER, THRUST
4H7-46118-00-16
Unavailable
5
. WASHER, THRUST
4H7-46118-00-17
Unavailable
5
. WASHER, THRUST
4H7-46118-00-22
Unavailable
5
. WASHER, THRUST
4H7-46118-00-23
Unavailable
6
.. BOLT, STUD
90116-08247-00
Unavailable
7
WASHER(6TA)
92907-08700-00
Unavailable
8
NUT(6L2)
95333-08600-00
Unavailable
9
O-RING (1J7)
93211-44348-00
Unavailable
10
HOUSING, BEARING
4H7-46152-00-00
Unavailable
11
SHIM, RING GEAR (0.30T)
1J7-46117-Y0-30
Unavailable
11
. SHIM, RING GEAR (035T)
1J7-46117-Y0-35
Unavailable
11
SHIM, RING GEAR (0.40T)
1J7-46117-Y0-40
Unavailable
11
SHIM, RING GEAR (0.50T)
1J7-46117-Y0-50
Unavailable
12
OIL SEAL (4H7)
93102-70167-00
Unavailable
13
BRG,R-B 16014C2 110MM 433G KY
93316-01403-00
Unavailable
14
BEARING ASSY
2H7-46102-00-00
Unavailable
15
RACE, INNER
2H7-46122-00-00
Unavailable
16
SHIM, THRUST (0.30T)
1J7-17537-Y0-30
Unavailable
16
SHIM, THRUST (0.40T)
1J7-17537-Y0-40
Unavailable
16
SHIM, THRUST (0.50T)
1J7-17537-Y0-50
Unavailable
17
BRG,R-B 6305RB1 62MM 245G KY
93306-30533-00
Unavailable
18
RETAINER, BEARING
(11H-46125-00-00)
Unavailable
19
COUPLING, GEAR
(11H-46123-00-00)
Unavailable
20
. WASHER, PLATE
90201-203F5-00
Unavailable
21
WASHER, THRUST
(11H-17529-00-00)
Unavailable
22
BOLT, STUD
(90116-10327-00)
Unavailable
23
BOLT, FLANGE(3GD)
95817-10025-00
Unavailable
24
PLUG, STRAIGHT SCREW(3FA)
90340-14132-00
Unavailable
25
PLUG, STRAIGHT SCREW
90340-14004-00
Unavailable
26
GASKET
214-11198-01-00
Unavailable
27
BREATHER COMP.
2H7-17590-00-00
Unavailable
28
HOLDER
(11H-17524-00-00)
Unavailable
29
SPRING, COMPRESSION
(90501-65683-00)
Unavailable
30
CAM, DRIVEN
(11H-17527-00-00)
Unavailable
31
SHAFT, DRIVE
(11H-46172-01-00)
Unavailable
32
OIL SEAL
93108-23008-00
Unavailable
33
WASHER, plate
90201-233F6-00
Unavailable
34
CIRCLIP (4H7)
93410-23056-00
Unavailable
35
CIRCLIP (537)
93410-22039-00
Unavailable
36
SPRING, COMPRESSION (2H7)
90501-16491-00
Unavailable
37
CROSS JOINT COMP.
4X7-46180-00-00
Unavailable
38
BEARING(2HR)
93399-99926-00
Unavailable
39
CIRCLIP (4X7)
93440-20088-00
Unavailable
40
NUT
90179-10013-00
Unavailable
41
YBS67-10 WASHER, SPRING
92990-10100-00
Unavailable
42
COLLAR (4H7)
90387-172A5-00
Unavailable
43
LABEL, OIL CAUTION
4H7-46181-10-00
Unavailable
44
O-RING (4H7)
93210-60426-00
Unavailable
45
OIL SEAL
93101-47108-00
Unavailable
46
BEARING, cylindrical
93317-64725-00
Unavailable
