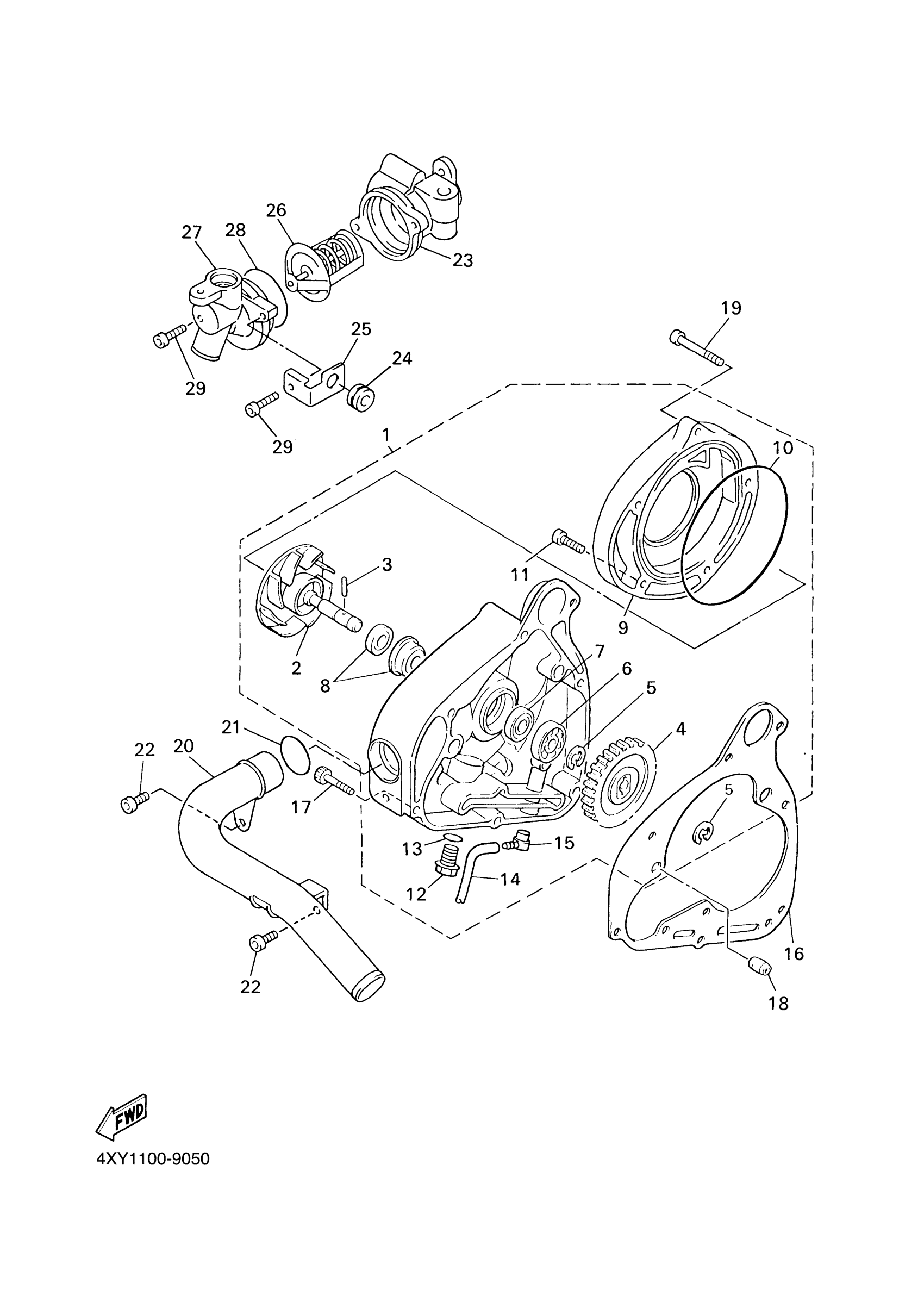
Yamaha XVZ13TFXR (ROYAL STAR VENTURE) 2C9G 2008 WATER PUMP Diagram
#
Description
Price
1
WATER PUMP ASSY
4NK-12420-03-00
Unavailable
4
GEAR, IMPELLER SHAFT (31T)
26H-12459-00-00
Unavailable
16
GASKET, WATER PUMP
4NK-12449-00-00
Unavailable
17
BOLT,SOCKET HEAD
91314-06025-00
Unavailable
18
PIN, DOWEL(3VD)
99530-10114-00
Unavailable
19
BOLT, SOCKET
91314-06080-00
Unavailable
20
PIPE 3
4XY-12483-00-00
Unavailable
21
O-RING(1LT)
93210-23787-00
Unavailable
22
BOLT,SOCKET HEAD
91314-06014-00
Unavailable
23
HOUSING, THERMOSTAT
4XY-12417-00-00
Unavailable
24
GROMMET(3GM)
90480-10517-00
Unavailable
25
BRACKET 1
4XY-1244E-00-00
Unavailable
26
THERMOSTAT ASSY
1AE-12410-01-00
Unavailable
27
COVER, THERMOSTAT
4XY-12413-00-00
Unavailable
28
O-RING (620)
93210-49046-00
Unavailable
29
BOLT,SOCKET
91317-06020-00
Unavailable
